EasyManua.ls Logo

Mazda 6 Facelift 2005 - Page 78

Mazda 6 Facelift 2005
274 pages
Print Icon
To Next Page IconTo Next Page
To Next Page IconTo Next Page
To Previous Page IconTo Previous Page
To Previous Page IconTo Previous Page
Loading...
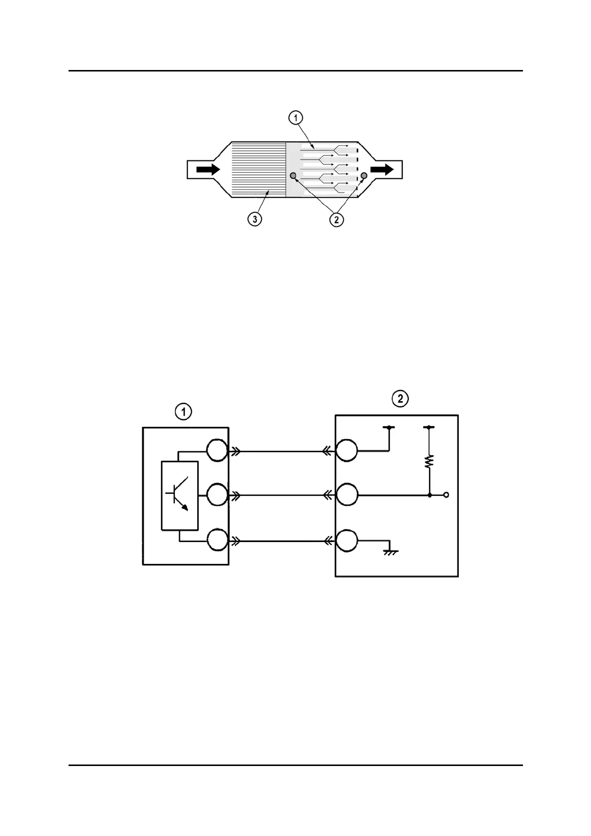
Diesel Engines Engine
M5_01041
1 DPF 3 Oxidation catalytic converter
2 Pipe connections for differential pressure
sensor
The signal of the DPF differential pressure sensor is used to determine, whether the soot
amount requires regeneration of the filter. In addition, the signal serves to monitor the
regeneration process.
The DPF differential pressure sensor supplies the PCM with an analogue voltage signal
between 0…5 V.
M6FL_01082
1 DPF differential pressure sensor 2 PCM
01-64 Service Training Mazda6 Facelift

Table of Contents

Related product manuals