EasyManua.ls Logo

Mega Technopool pH-Rx - Instellen Van de Ph (Ph-Pomp)

Mega Technopool pH-Rx
64 pages
Print Icon
To Next Page IconTo Next Page
To Next Page IconTo Next Page
To Previous Page IconTo Previous Page
To Previous Page IconTo Previous Page
Loading...
TECHNOPOOL3 SNELLE PROGRAMMERING
Doseersysteem voor zwembaden NEDERLANDS
ADSP7000716 rev. 1.0 25/01/2017 56/64
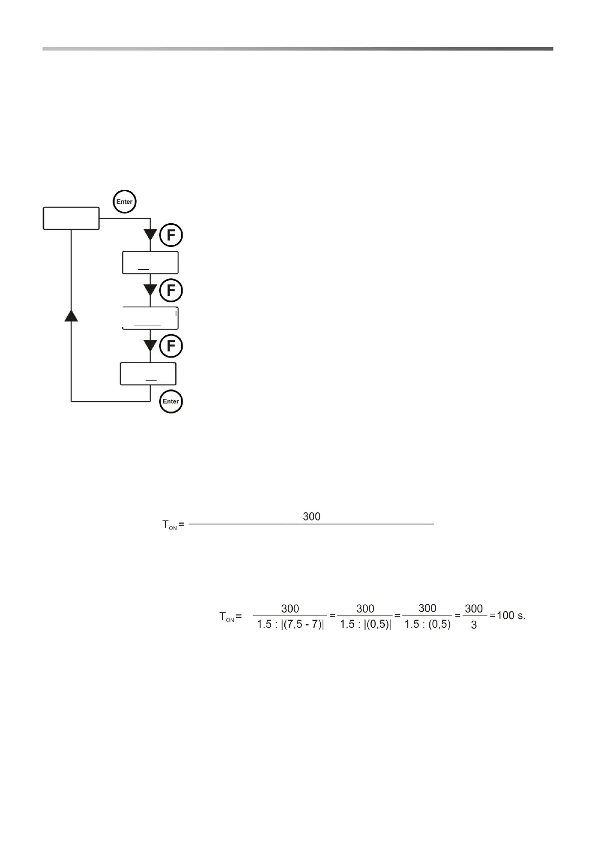
4.3 Instellen van de pH (pH-pomp)
Voor het in bedrijf stellen van de pH-pomp, moeten drie parameters worden geprogrammeerd:
pH-setpoint - pH-werkmodus - Proportionele band pH
In het installateurmenu Setpoint/Timer selecteren, de toets Enter indrukken en vervolgens de toets F meerdere
malen indrukken, totdat op het scherm pH-setpoint wordt weergegeven:
pH-setpoint
De setpoint geeft de pH-waarde aan die moet worden gehandhaafd.
Met de toetsen ▼▲kan de gewenste setpoint worden ingesteld en vervolgens
kan deze met de toets Enter worden bevestigd.
De setpoint kan worden ingesteld op een waarde tussen 5.0 en 9.0 pH.
pH-werkmodus
De werkmodus stelt het type van de te doseren oplossing in: Zuur (de pomp start
met doseren als de afgelezen waarde op de sensor hoger is dan de setpoint) of
basen (de pomp start met doseren als de afgelezen waarde op de sensor lager is
dan de setpoint).
Met de toetsen ▼▲kan één van de twee mogelijkheden worden geselecteerd en
vervolgens kan deze met de toets Enter worden bevestigd.
De pH werkmodus kan op zuur/pH
-
of op basen/pH
+
worden ingesteld.
Prop. band pH
Deze geeft de looptijd van de proportionele band van de dosering aan.
De pomp mag maximaal 300 seconden actief zijn. Als de pomp voor kortere tijd
wordt ingeschakeld, moet deze stilstaan gedurende een tijdsbestek dat gelijk is
aan het verschil tussen de looptijd van de pH-cyclus (zie par. 5.1, blz. 23) en de
werkingstijd.
Met de toetsen ▼▲kan de gewenste waarde worden ingesteld en vervolgens
kan deze met de toets Enter worden bevestigd.
De proportionele band kan worden gekozen uit de volgende waarden:
0,5 1 1,5 3 pH.
De activeringstijd T
ON
van de pomp wordt berekend met de volgende formule:
Het verschil tussen de afgelezen waarde en de setpoint wordt beschouwd als de absolute waarde.
De tijd T
OFF
is het verschil tussen de looptijd van de ingestelde pH-cyclus - T
ON
Voorbeeld:
pH-setpoint = 7 pH
Werkmodus = zuur/pH
-
Proportionele band pH = 1,5 pH
Afgelezen waarde = 7,5 pH
Als de pomp tijdens het doseren de setpoint bereikt, stopt deze en blijft stilstaan gedurende de tijd die
wordt bepaald door het verschil tussen de looptijd van de ingestelde pH-cyclus (zie par. 5.1) en de tijd dat
de pomp actief is geweest.
Setpoint/Timer
pH-setpoint
7.4 pH
pH-werkmodus
zuur/pH-
Prop. band
pH = 1.5 pH
Proportionele band pH: I(afgelezen pH-waarde - pH-setpoint) I

Table of Contents