EasyManua.ls Logo

Megger frax 101 - Page 79

Megger frax 101
88 pages
Print Icon
To Next Page IconTo Next Page
To Next Page IconTo Next Page
To Previous Page IconTo Previous Page
To Previous Page IconTo Previous Page
Loading...
75
Appendices
© 2011 Megger Sweden AB
3) In the Capacitive Inter-Winding, CIW (Inter-Winding, IW) measurement, the signal is
applied to one end of a winding and the response is measured at one end of another winding
on the same phase (not connected to the first one). The lowest-frequency range of this test is
basically a capacitance and dissipation/power factor measurement (e.g. CHL).
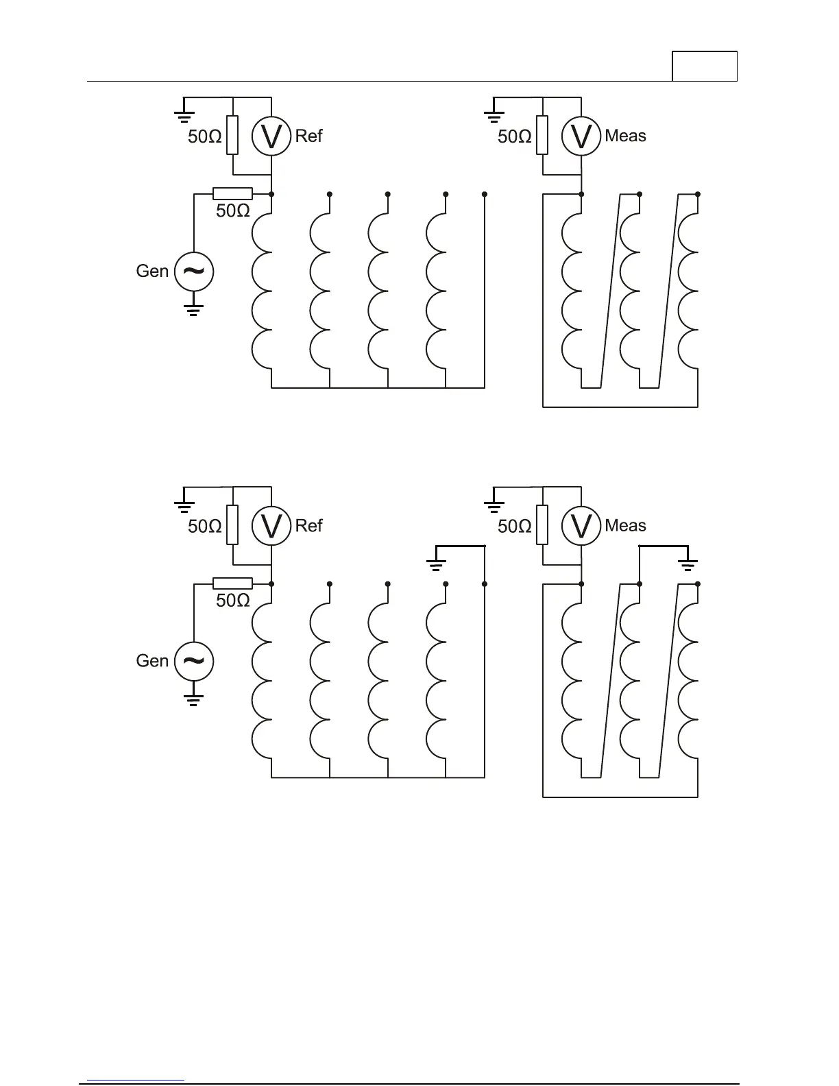
4)In the Inductive Inter-Winding, IIW (Transfer Admittance, TA) measurement, the signal is
applied to a terminal on the HV side, and the response is measured on the corresponding
terminal on the LV side, with the other end of both windings being grounded. Example of
labeling is “A-a1 [IIW, GND N,n1]” where GND N, n1 means ground terminal N (H0) and
ground terminal n1 (X0). The low-frequency range of this test is determined by the winding
turns ratio (slightly affected by the 50 Ohm load at the “Meas”-side.)

Related product manuals