EasyManua.ls Logo

Mitsubishi MELSEC-A series - 6.3.7 Zeroing Procedure

Mitsubishi MELSEC-A series
183 pages
Print Icon
To Next Page IconTo Next Page
To Next Page IconTo Next Page
To Previous Page IconTo Previous Page
To Previous Page IconTo Previous Page
Loading...
6.
PROGRAMMING
/MELSEC-A
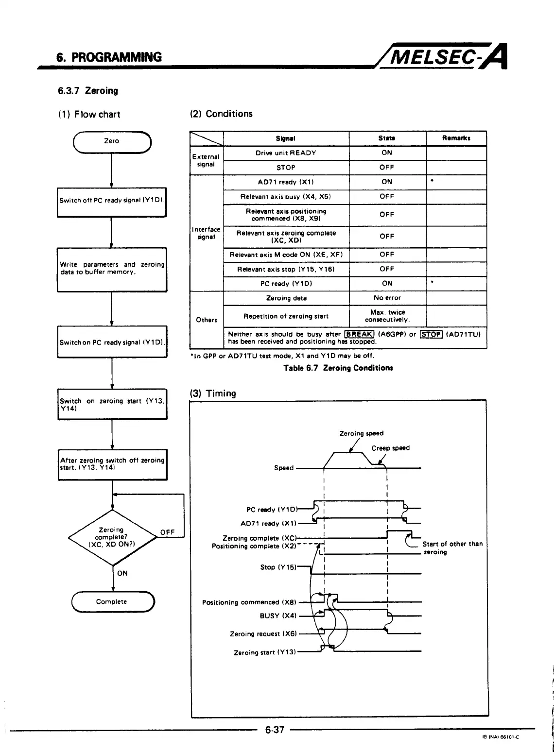
6.3.7
Zeroing
(1
)
Flow
chart
Zero
T
Switch oft PC ready signal
(Y1
Dl.
-
b
Write parameters and zeroing
data to buffer memory.
T
Switchon PC readysignal
IYlD).
T
Switch
on
zeroing start
(Y13,
Y14).
T
start.
(Y13, Y141
After zeroing switch off zeroing
I
I
ON
c
Complete
(2)
Conditions
External
signal
Drive unit READY
OFF
STOP
ON
AD71 ready
(X11
OFF
OFF
Relevant axis busy
(X4, X5)
ON
Relevant axis positioning
commenced
(X8, X9I
I
In$r
Relevant axis zeroing complete
I
(XC,
XDI
OFF
1
1
Relevant axis
M
coda
ON
(X€, XFI
1
OFF
1
I
PC ready
(Y 1
D)
I
ON
I*
I
Zeroing data
No
error
Others
Repetition
of
zeroing start
consecutimly.
Max.
twice
I
I
I
1
Neither axis should
be
busy after
I-]
(AGGPP) or
lSfOPl
(AD71TU)
has
been
received
and
positioning has stopped.
*In GPP or AD71TU
test
mode,
X1
and
Y1
D may be off.
Tabla
6.7 Zeroing
Conditions
3)
Timing
Zeroing rpeed
Creep speed
Speed
I
I
I
I
I
I
PC ready
(Y1D
I
I
I
I
I
I
I
AD71
ready
(X11
Positioning complete
(X2)---
Zeroing complete
(XCI
I
I
I
I
Stan of other than
I
zeroing
I
I
I
I
I
Stop
(Y 15)
I
Positioning commenced
(X8)
BUSY
(X41
Zeroing request
(X6I
Zeroing start
(Y13)
6-37
IB
INA)
65101C

Other manuals for Mitsubishi MELSEC-A series

Related product manuals