EasyManua.ls Logo

Molift Rail System - Page 28

Molift Rail System
72 pages
Print Icon
To Next Page IconTo Next Page
To Next Page IconTo Next Page
To Previous Page IconTo Previous Page
To Previous Page IconTo Previous Page
Loading...
28
Molift Rail System / www.molift.com
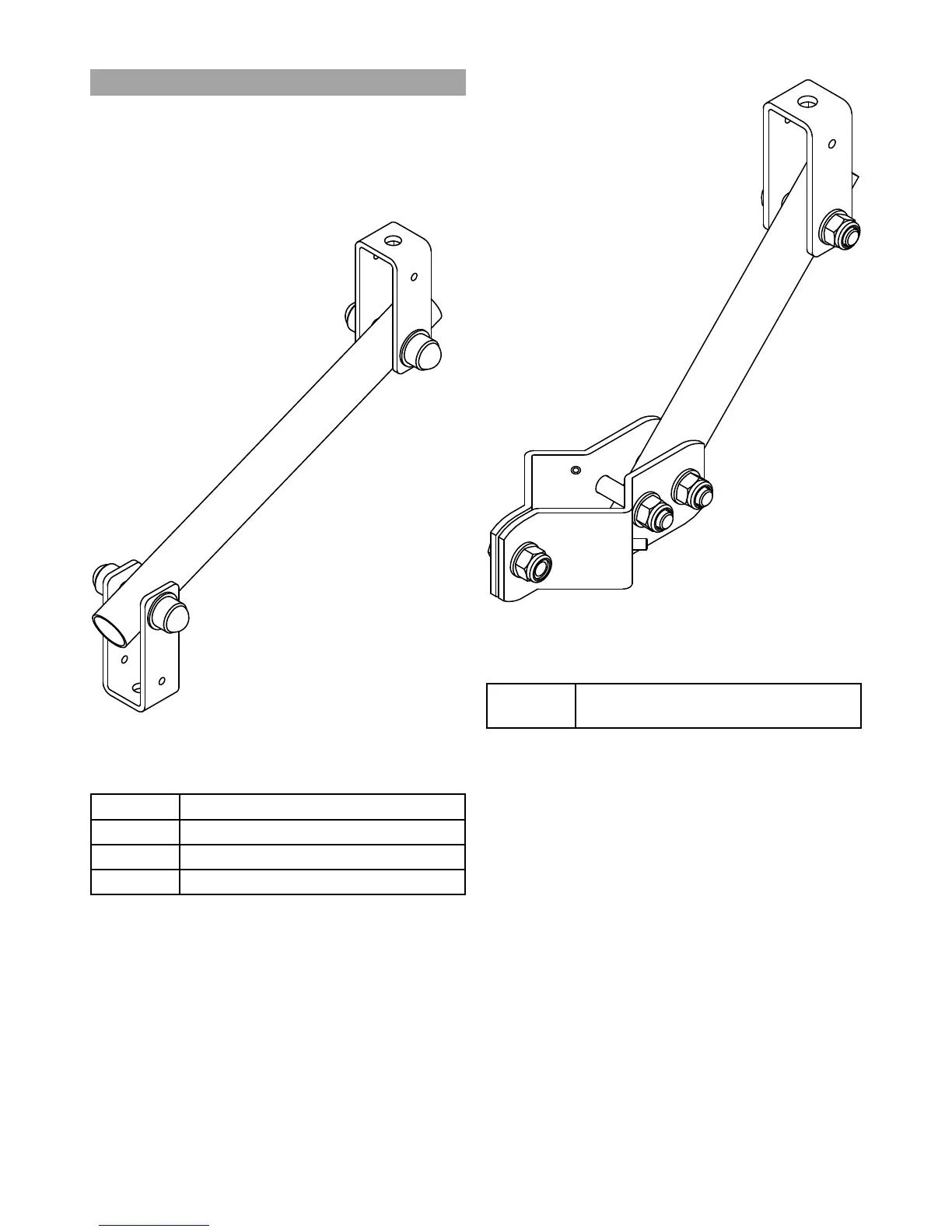
Bracing Side supports
Rails systems mounted with attachments like
Telescope brackets and Threaded rods need brac-
ing in form of Side supports to eliminate horizontal
forces and vibrations. (Design and positioning of
Side support see chapter 5.2.4)
Support for Telescope or Threaded rod Ceiling
Bracket, for mounting in rail.
Article no.
110 9 920 M10 Support Set 1 Meter
110 9 922 M10 Support Set 2 Meter
110 9 95 0 3/8” Support Set 36
110 9 952 3/8” Support Set 72
Support for mounting around telescope ceiling
bracket.
Article no.
110 9 815 Side Support unit for Telescope
Brackets

Related product manuals