EasyManua.ls Logo

NEC NP2000 - Lens Shift Adjustable Range

NEC NP2000
1169 pages
Print Icon
To Next Page IconTo Next Page
To Next Page IconTo Next Page
To Previous Page IconTo Previous Page
To Previous Page IconTo Previous Page
Loading...
114
8. Using Optional Lenses
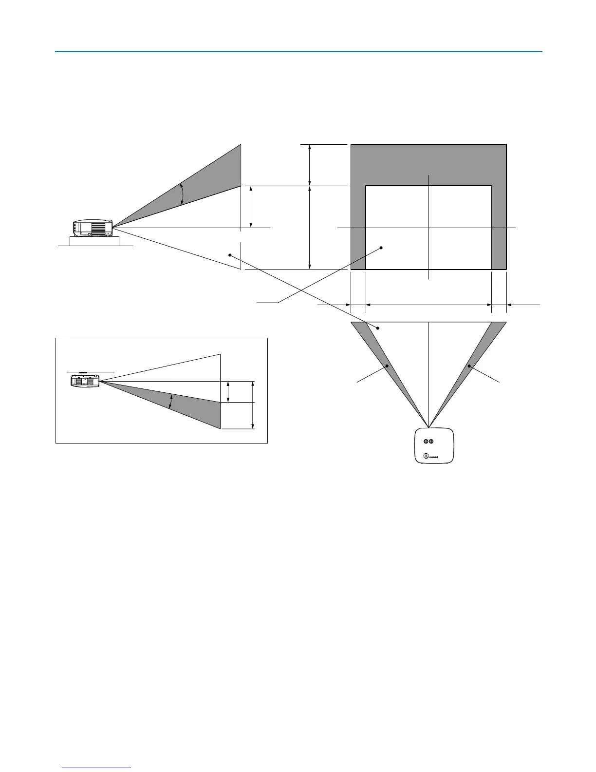
Lens Shift Adjustable Range
The top right diagram shows the location of the image position in the lens. The lens can be shifted within the shaded
area as shown using the normal projection position as a starting point.
The projector has a lens shift feature that allows you to move the image vertically or horizontally.
Desktop front projection
Ceiling front projection
Vertical shift
Vertical shift
Max. 0.5V
Max.
0.5V
1V
0.5V
0.1H
0.1H1H
Width of projected image
Nomal projection position
Shift to left Shift to right
1V
Height of projected image

Table of Contents

Other manuals for NEC NP2000

Related product manuals