EasyManua.ls Logo

NEC NP2000 - Margen de Desplazamiento del Objetivo

NEC NP2000
1169 pages
Print Icon
To Next Page IconTo Next Page
To Next Page IconTo Next Page
To Previous Page IconTo Previous Page
To Previous Page IconTo Previous Page
Loading...
114
8. Uso de objetivos opcionales
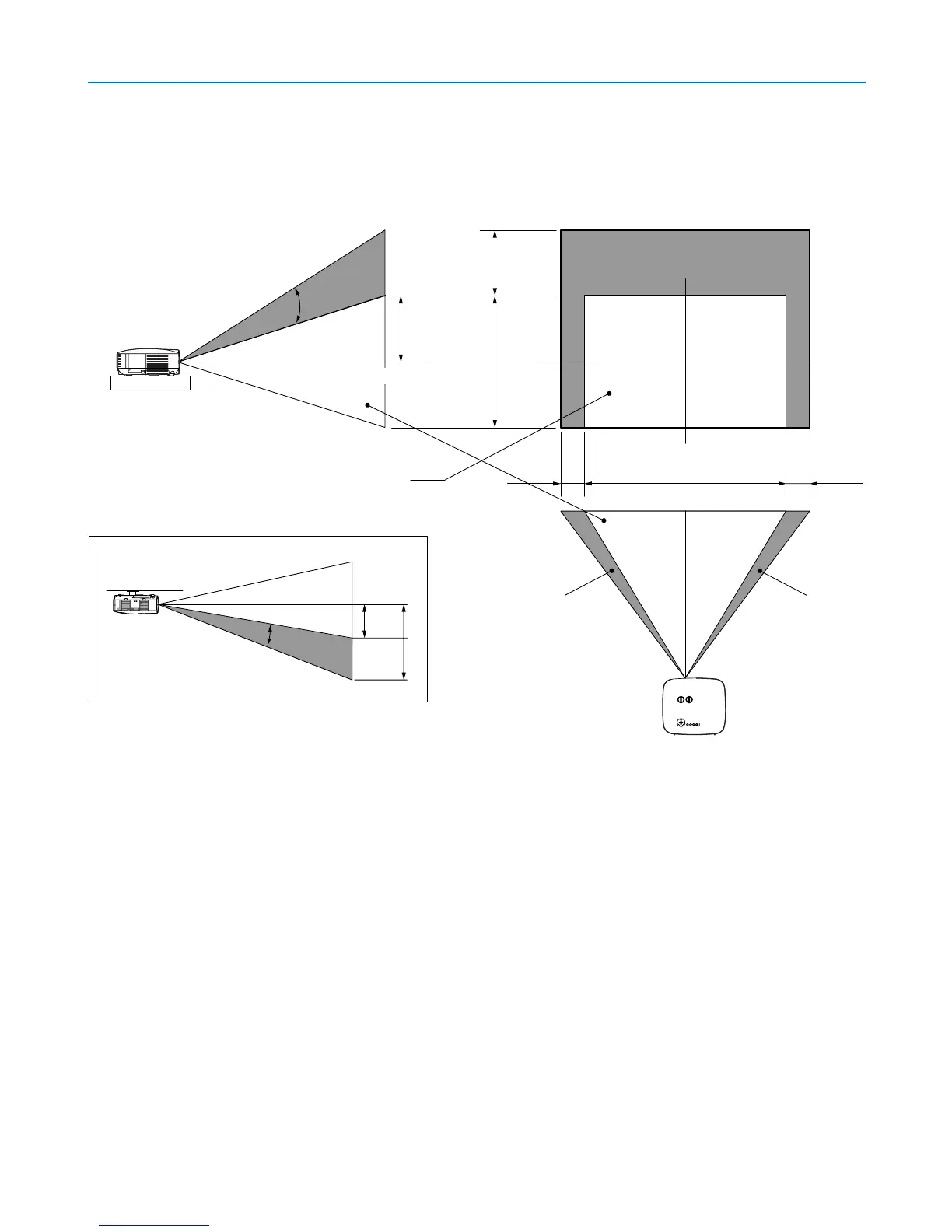
Margen de desplazamiento del objetivo
El diagrama superior derecho muestra la posición de la imagen en el objetivo. El objetivo puede desplazarse dentro
del área sombreada, como se indica, utilizando la posición de proyección normal como punto de partida.
El proyector tiene una función de desplazamiento de objetivo que permite mover la imagen en sentido vertical u
horizontal.
Proyección frontal de escritorio
Proyección frontal de techo
Desplazamiento
vertical
Máx. 0,5 V
Máx.
0,5V
1V
0,5V
0,1H
0,1H1H
Ancho de la imagen proyectada
Posición de proyección normal
Desplazamiento
hacia la izquierda
Desplazamiento
hacia la derecha
1V
Altura de la imagen proyectada
Desplazamiento
vertical

Table of Contents

Other manuals for NEC NP2000

Related product manuals