EasyManua.ls Logo

NEC NP2000 - Linsenversatz-Einstellbereich

NEC NP2000
1169 pages
Print Icon
To Next Page IconTo Next Page
To Next Page IconTo Next Page
To Previous Page IconTo Previous Page
To Previous Page IconTo Previous Page
Loading...
114
8. Verwendung der optionalen Linsen
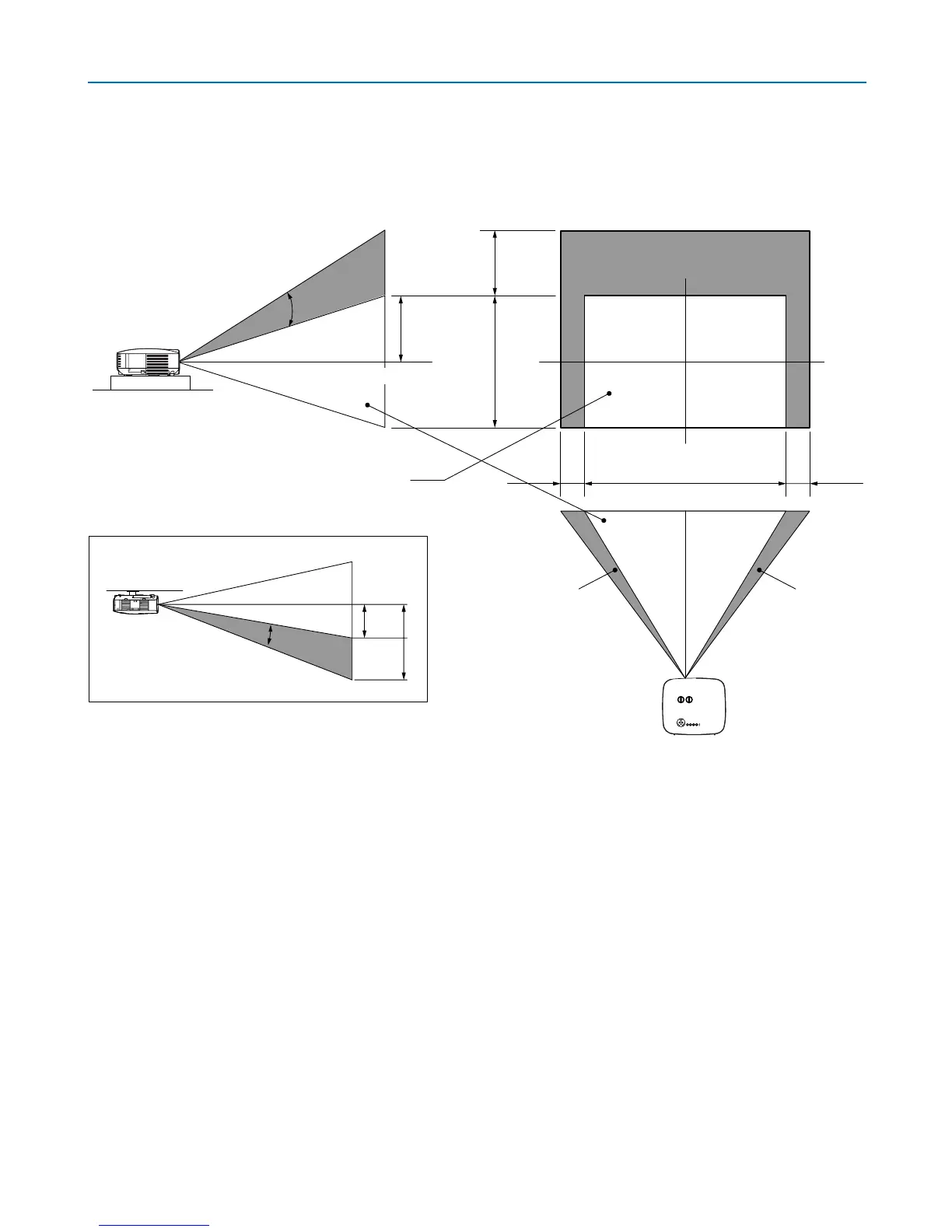
Linsenversatz-Einstellbereich
Das obere rechte Diagramm zeigt die Stelle der Bildposition in der Linse an. Die Linse kann innerhalb des schattierten
Bereichs verschoben werden, wobei die Projektionsposition als Startpunkt verwendet wird.
Der Projektor verfügt über eine Linsenversatz-Funktion, mit der Sie das Bild vertikal oder horizontal verschieben
können.
Tisch-Frontprojektion
Decken-Frontprojektion
Vertikaler
Versatz
Vertikaler
Versatz
Max. 0,5V
Max.
0,5V
1V
0,5V
0,1H
0,1H1H
Breite des projizierten Bildes
Normale Projektionsposition
Versatz nach links Versatz nach rechts
1V
Höhe des projizierten Bildes

Table of Contents

Other manuals for NEC NP2000

Related product manuals