EasyManua.ls Logo

NEC NP2000 - Justerbart Område För Lens Shift

NEC NP2000
1169 pages
Print Icon
To Next Page IconTo Next Page
To Next Page IconTo Next Page
To Previous Page IconTo Previous Page
To Previous Page IconTo Previous Page
Loading...
114
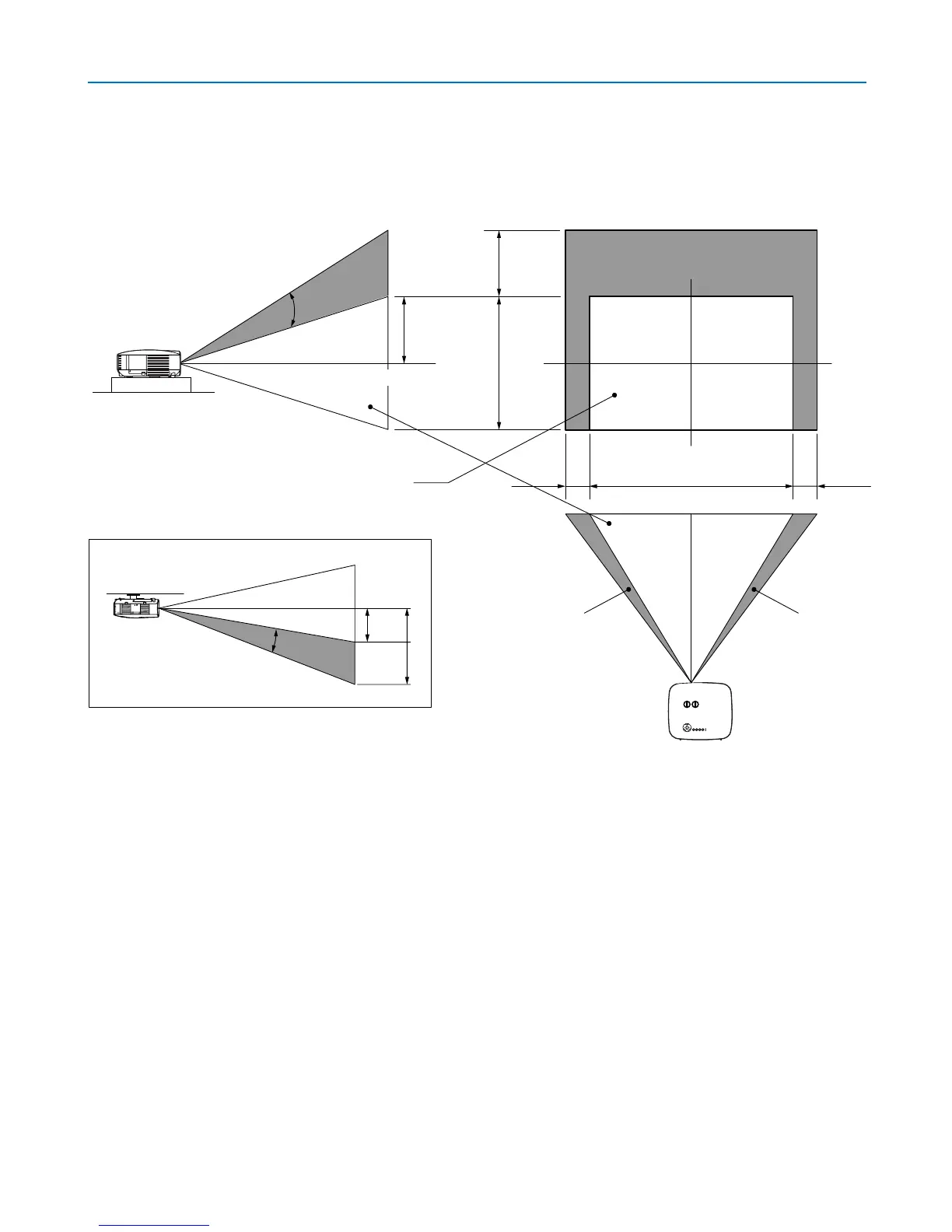
Justerbart område för Lens Shift
Diagrammet upptill till höger visar bildpositionens plats i linsen. Linsen kan röras inom det skuggade området enligt
bilden med den normala projektionspositionen som startpunkt.
Projektorn är utrustad med en lens shift-funktion som gör att du kan flytta bilden vertikalt eller horisontellt.
Frontprojektion från skrivbordet
Frontprojektion, takmontering
Vertikal
ändring
Vertikal
ändring
Max. 0,5 V
Max.
0,5 V
1V
0,5V
0,1H
0,1H1H
Den projicerade bildens bredd
Normal projektionsposition
Skifta åt vänster Skifta åt höger
1V
Den projicerade bildens höjd
8. Använda tillvalslinser

Table of Contents

Other manuals for NEC NP2000

Related product manuals