EasyManua.ls Logo

NEC NP2000 - Page 412

NEC NP2000
1169 pages
Print Icon
To Next Page IconTo Next Page
To Next Page IconTo Next Page
To Previous Page IconTo Previous Page
To Previous Page IconTo Previous Page
Loading...
114
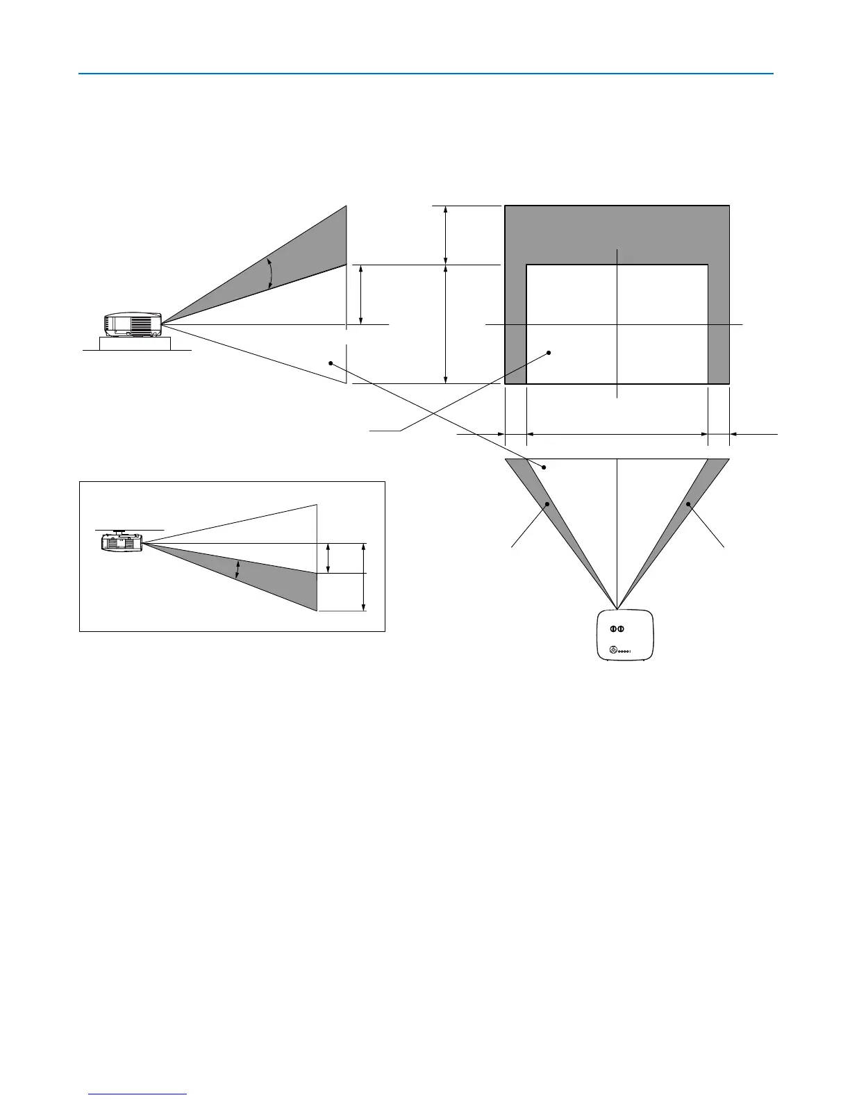
8. Utilisation des objectifs optionnels
Portée de réglage du décalage de l’objectif
Le schéma situé en haut et à droite indique l’emplacement de l’image dans l’objectif. L’objectif peut être décalé à
l’intérieur de la zone ombrée comme indiqué, en utilisant la position normale de projection comme point de départ.
Le projecteur est doté d’une fonction de décalage de l’objectif qui vous permet de déplacer l’image verticalement ou
horizontalement.
Projection frontale de bureau
Projection frontale au plafond
Décalage
vertical
Décalage
vertical
Largeur de l’image projetée
Max. 0,5V
Max.
0,5V
1V
0,5V
0,1H
0,1H1H
Position normale de projection
1V
Hauteur de l’image projetée
Décalage vers
la gauche
Décalage vers
la droite

Table of Contents

Other manuals for NEC NP2000

Related product manuals