EasyManua.ls Logo

Nikon Coolpix 5000 - Page 33

Nikon Coolpix 5000
223 pages
Print Icon
To Next Page IconTo Next Page
To Next Page IconTo Next Page
To Previous Page IconTo Previous Page
To Previous Page IconTo Previous Page
Loading...
19
Introduction—Getting to Know the COOLPIX5000
R The MENU Button
Press the MENU button to display the menu for the
current operating mode. If the menu has more
than one page, pressing the MENU button a sec-
ond time will display the next page. When the last
page is displayed, you can exit the menu by press-
ing the MENU button again.
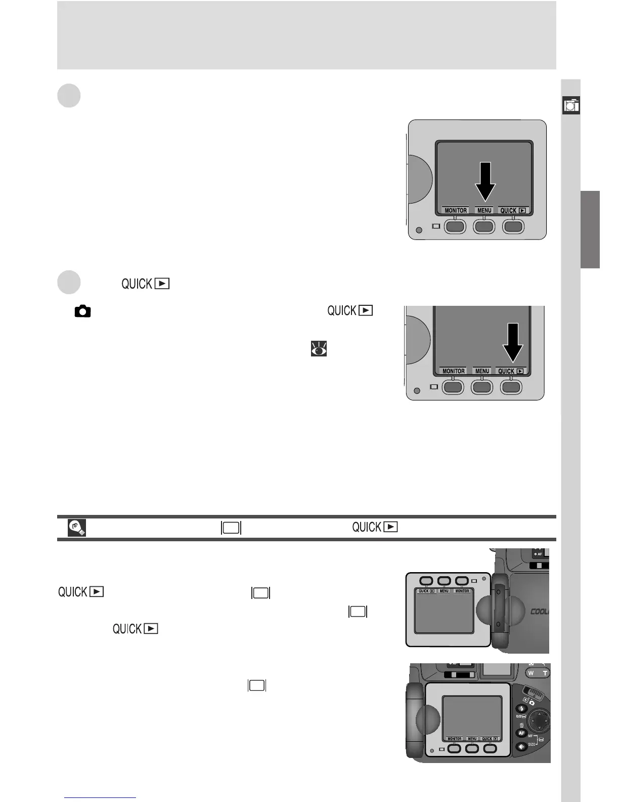
S The Button
In (shooting) mode, the quick review ( )
button is used to view the results of earlier photo-
graphs while setting up the next shot ( 56).
The MONITOR ( ), MENU, and Buttons
The order of these three buttons from left to right
changes with the orientation of the monitor:
, MENU, MONITOR ( ) when the but-
tons are above the monitor, MONITOR ( ),
MENU, when the buttons are below the
monitor. Button names are displayed in the moni-
tor when the monitor is on; when the monitor is
off, pressing the MONITOR ( ) button will turn
the monitor on.

Table of Contents

Other manuals for Nikon Coolpix 5000

Related product manuals