EasyManua.ls Logo

Nivus OCM PRO CF - Page 40

Nivus OCM PRO CF
194 pages
Print Icon
To Next Page IconTo Next Page
To Next Page IconTo Next Page
To Previous Page IconTo Previous Page
To Previous Page IconTo Previous Page
Loading...
Instruction manual
OCM Pro CF
page 40 OCM Pro CF - Rev. 09 as of 07.06.2016
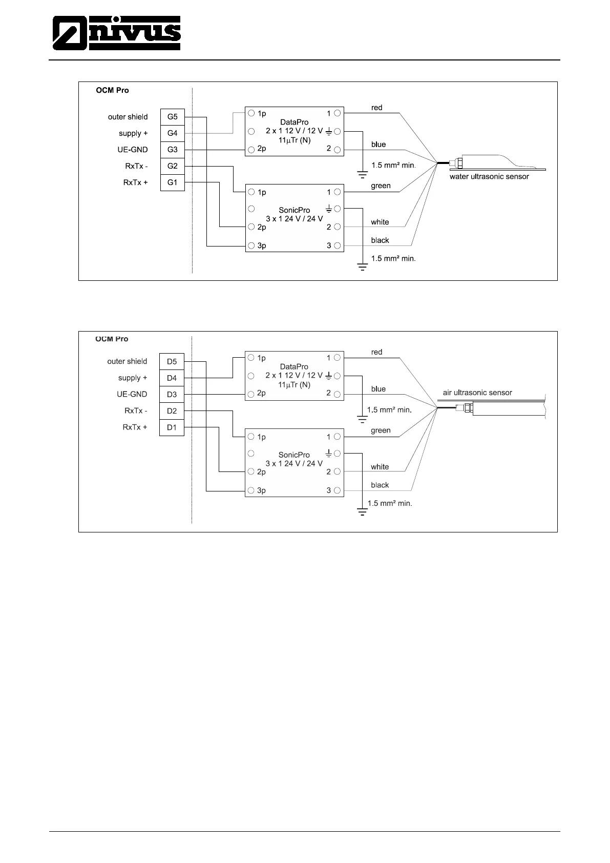
Fig. 7-16 Overvoltage protection water-ultrasonic sensor or electronic
box, wall mount enclosure
Fig. 7-17 Overvoltage protection air-ultrasonic sensor, type OCL, wall
mount enclosure

Table of Contents

Related product manuals