EasyManua.ls Logo

Olympus STM7 - Page 82

Olympus STM7
104 pages
Print Icon
To Next Page IconTo Next Page
To Next Page IconTo Next Page
To Previous Page IconTo Previous Page
To Previous Page IconTo Previous Page
Loading...
X
Y
Z
DATA
Z LIMIT
COUNT
FULL
HALF
TRACK
SHOT
COARSE EPI DIA FN
FINE
AF FOCUS LED
X
Y
Z
DATA
Z LIMIT
COUNT
FULL
HALF
TRACK
SHOT
COARSE EPI DIA FN
FINE
AF FOCUS LED
X
Y
Z
DATA
Z LIMIT
COUNT
FULL
HALF
TRACK
SHOT
COARSE EPI DIA FN
FINE
AF FOCUS LED
X
Y
Z
DATA
Z LIMIT
COUNT
FULL
HALF
TRACK
SHOT
COARSE EPI DIA FN
FINE
AF FOCUS LED
76
Inputting the measured value of X-axis
1. Press the X-RESET button
c
to show ”3” in the display X.
2. Press the DATA button
f
to change the digit you want to edit
in the display Y.
3. Press the Y-RESET button
d
or the Z-RESET button
e
to set the
display Y to "Measured value" of "X-axis" described in Certificate
of Accuracy (provided with the stage).
4
Inputting the measured value of Y-axis
1. Press the X-RESET button
c
to show ”6” in the display X.
2. Press the DATA button
f
to change the digit you want to edit
in the display Y.
3. Press the Y-RESET button
d
or the Z-RESET button
e
to set the
display Y to "Measured value" of "Y-axis" described in Certificate
of Accuracy (provided with the stage).
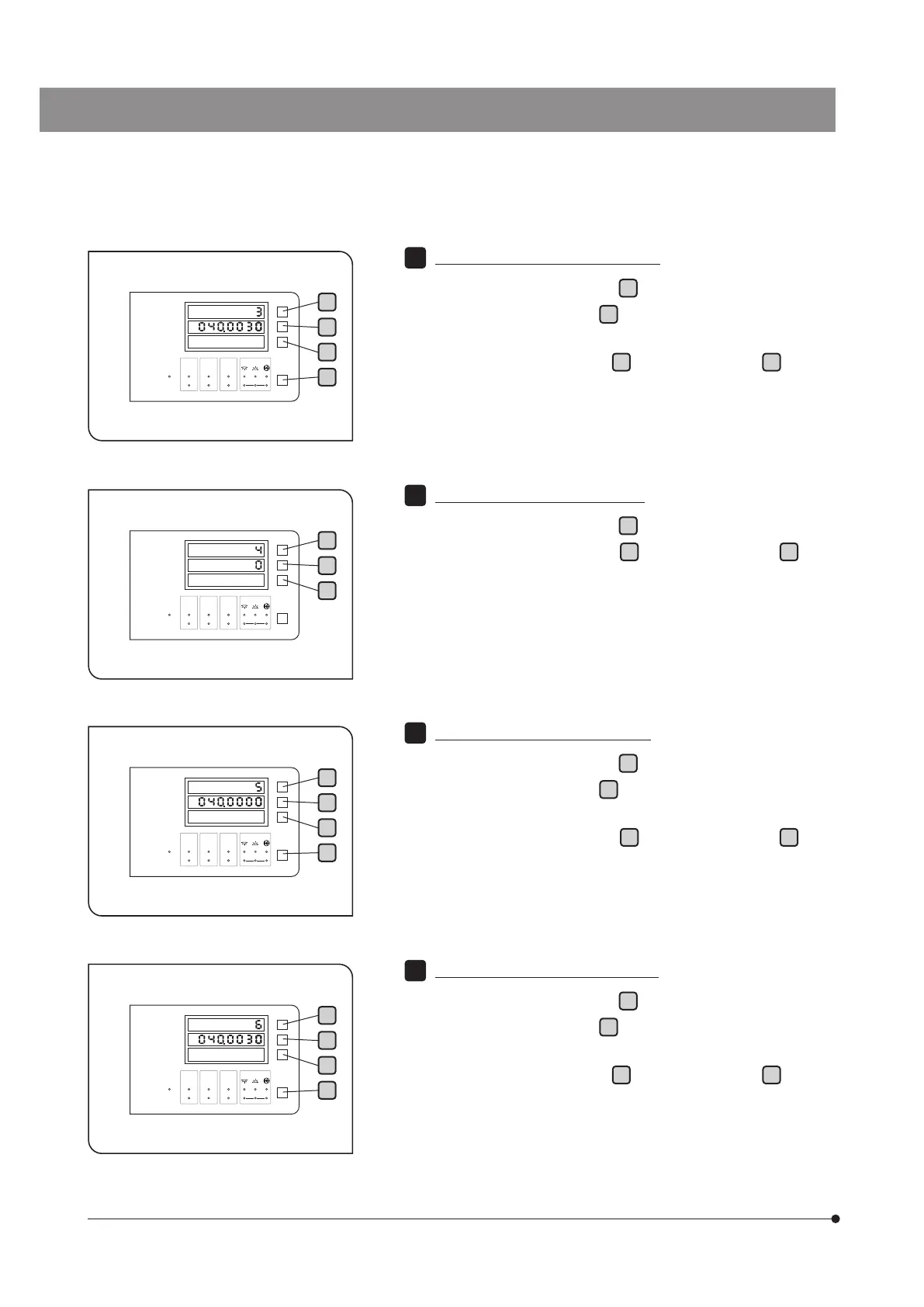
7
Setting the Y-axis counting direction
1. Press the X-RESET button
c
to show ”4” in the display X.
2. Press the Y-RESET button
d
or the Z-RESET button
e
to set
the Y-axis counting direction in the display Y.
} For setting values, see "2 Setting Function List" (page 79).
5
Inputting the standard value of Y-axis
1. Press the X-RESET button
c
to show ”5” in the display X.
2. Press the DATA button
f
to change the digit you want to edit
in the display Y.
3. Press the Y-RESET button
d
or the Z-RESET button
e
to set
the display Y to "Standard value" of "Y-axis" described in Certificate
of Accuracy (provided with the stage).
6
c
c
d
d
e
e
f
f
c
d
e
c
d
e
f

Table of Contents

Related product manuals