EasyManua.ls Logo

Olympus STM7 - Page 83

Olympus STM7
104 pages
Print Icon
To Next Page IconTo Next Page
To Next Page IconTo Next Page
To Previous Page IconTo Previous Page
To Previous Page IconTo Previous Page
Loading...
X
Y
Z
DATA
Z LIMIT
COUNT
FULL
HALF
TRACK
SHOT
COARSE EPI DIA FN
FINE
AF FOCUS LED
X
Y
Z
DATA
Z LIMIT
COUNT
FULL
HALF
TRACK
SHOT
COARSE EPI DIA FN
FINE
AF FOCUS LED
X
Y
Z
DATA
Z LIMIT
COUNT
FULL
HALF
TRACK
SHOT
COARSE EPI DIA FN
FINE
AF FOCUS LED
X
Y
Z
DATA
Z LIMIT
COUNT
FULL
HALF
TRACK
SHOT
COARSE EPI DIA FN
FINE
AF FOCUS LED
77
STM7
Inputting the measured value of Z-axis
1. Press the X-RESET button
c
to show ”9” in the display X.
2. Press the DATA button
f
to change the digit you want to edit
in the display Y.
3. Press the Y-RESET button
d
or the Z-RESET button
e
to set the
display Y to "Measured value" of "Z-axis" described in Certificate
of Accuracy (provided with the frame).
10
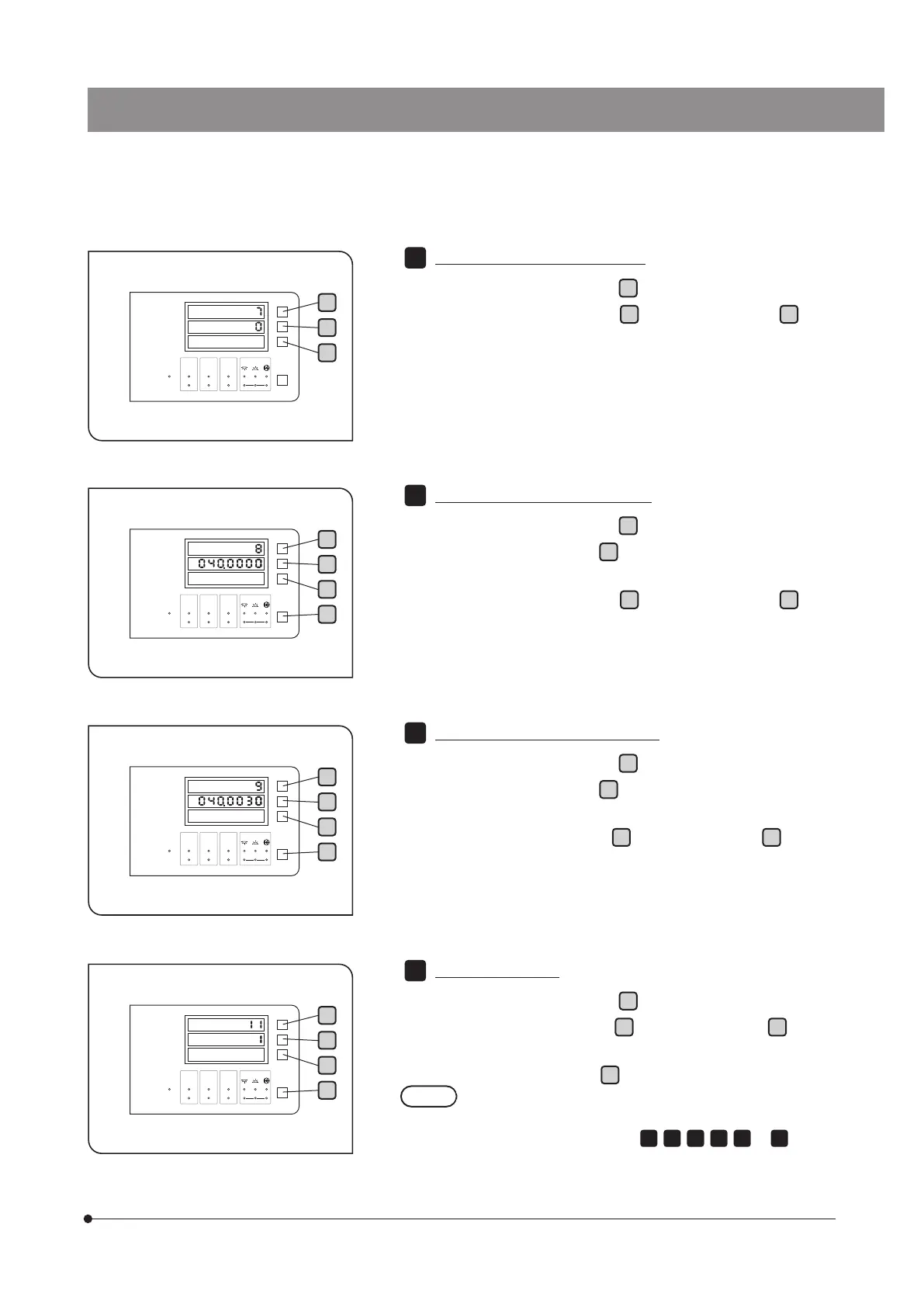
Setting the Z-axis counting direction
1. Press the X-RESET button
c
to show ”7” in the display X.
2. Press the Y-RESET button
d
or the Z-RESET button
e
to set
the Z-axis counting direction in the display Y.
} For setting values, see "2 Setting Function List" (page 79).
8
Inputting the standard value of Z-axis
1. Press the X-RESET button
c
to show ”8” in the display X.
2. Press the DATA button
f
to change the digit you want to edit
in the display Y.
3. Press the Y-RESET button
d
or the Z-RESET button
e
to set
the display Y to "Standard value" of "Z-axis" described in Certificate
of Accuracy (provided with the frame).
9
Saving setting values
1. Press the X-RESET button
c
to show ”11” in the display X.
2. Press the Y-RESET button
d
or the Z-RESET button
e
to show
"1" in the display Y.
3. Press the DATA button
f
.
· Without this procedure, the inputted values are not saved in
the microscope. Be sure to execute this procedure.
· If any one of setting values
3
,
4
,
6
,
7
,
9
or
10
(values
shown in display Y) is 000.0000, the setting values cannot
be saved. An error sound (three short beeps) beeps.
Confirm the setting values again.
11
CAUTION
c
d
e
f
c
d
e
c
d
e
f
c
d
e
f

Table of Contents

Related product manuals