EasyManua.ls Logo

Omron E5*C Series - E5 DC-B Terminal Block Wiring Example

Omron E5*C Series
440 pages
Print Icon
To Next Page IconTo Next Page
To Next Page IconTo Next Page
To Previous Page IconTo Previous Page
To Previous Page IconTo Previous Page
Loading...
2 - 49
2 Preparations
E5@C Digital Temperature Controllers User’s Manual (H174)
2-2 Using the Terminals
2
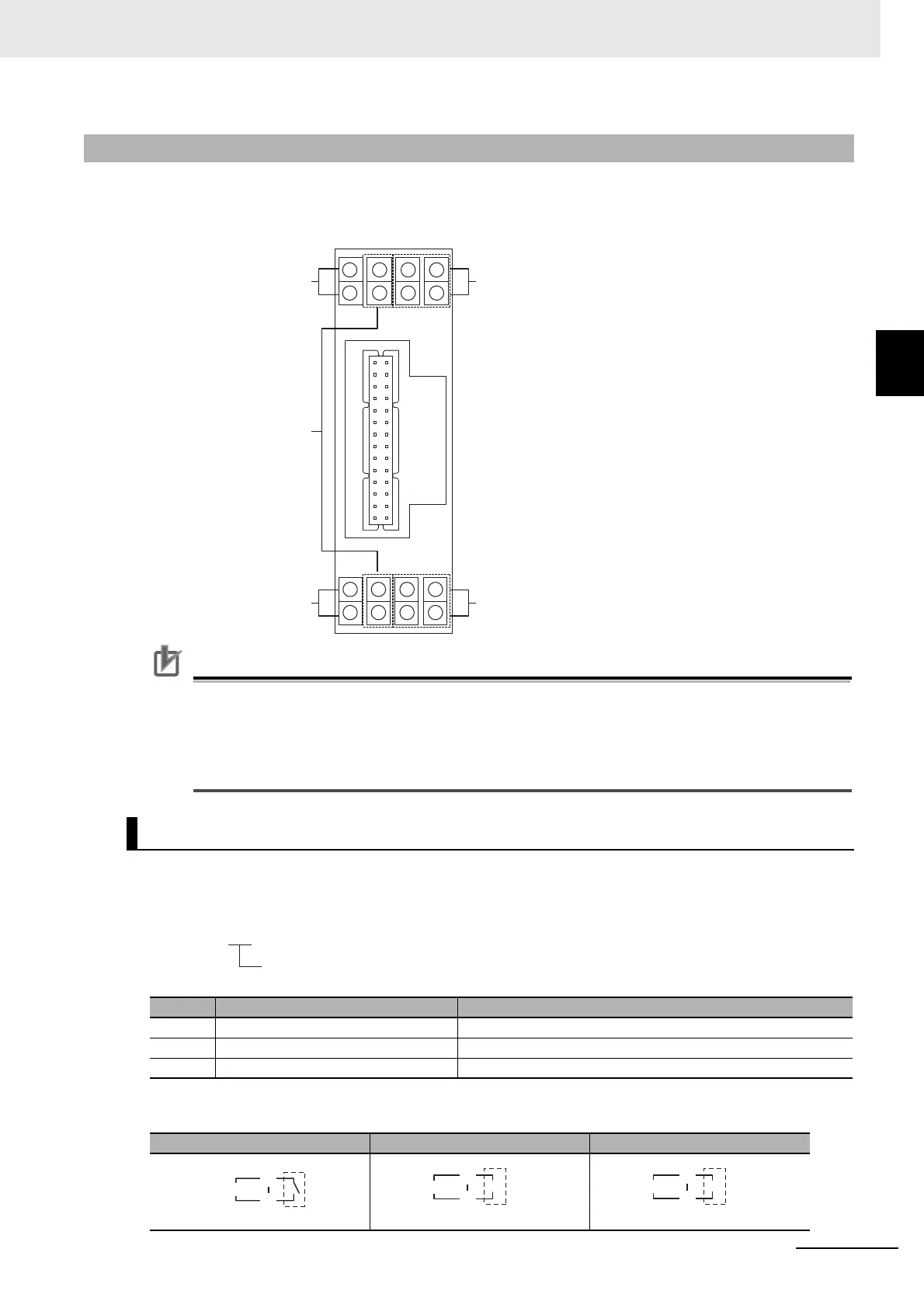
2-2-7 E5DC-B Terminal Block Wiring Example
Terminal Arrangement
The terminals block of the E5DC-B is divided into five types of terminals: control output 1, sensor input, auxiliary
outputs, input power supply, and options.
Precautions for Correct Use
When you purchase the Digital Controller, it will be set for a K thermocouple (input type = 5). If
a different sensor is used, an input error (s.err) will occur. Check the setting of the Input Type
parameter.
The terminal arrangement is different for the E5DC. Always check the terminal arrangement
diagram before wiring.
Model Numbers
The specification for control output 1 is given in the following location in the model number.
Terminal Details
2-2-7 E5DC-B Terminal Block Wiring Example
Control Output 1
Code Output type Specifications
RX 1 relay output 250 VAC, 3 A (resistive load)
QX 1 voltage output (for driving SSR) 12 VDC, 21 mA
CX 1 linear current output 4 to 20 mA DC or 0 to 20 mA DC with load of 500 Ω max.
RX QX CX
1
2
5
6
9
10
13
14
3
4
7
8
11
12
15
16
Input power supply
Control Output 1
Sensor input
Options
Auxiliary Outputs
E5DC-@@@@BM-@@@
Control Output 1
Relay
output
Control Output 1
C
D
+
-
Control output 1
Voltage output
(for driving SSR)
C
D
Control Output 1
Linear current
output
+
-
C
D

Table of Contents

Other manuals for Omron E5*C Series

Related product manuals