EasyManua.ls Logo

Omron OMNUC G5 R88D-KT50F - Page 519

Omron OMNUC G5 R88D-KT50F
632 pages
Print Icon
To Next Page IconTo Next Page
To Next Page IconTo Next Page
To Previous Page IconTo Previous Page
To Previous Page IconTo Previous Page
Loading...
9-16
9-4 Setting the Mode
OMNUC G5-SERIES AC SERVOMOTOR AND SERVO DRIVE USER'S MANUAL
9
Operation
Note.The motor may rotate even if a reason number other than 0 is displayed.
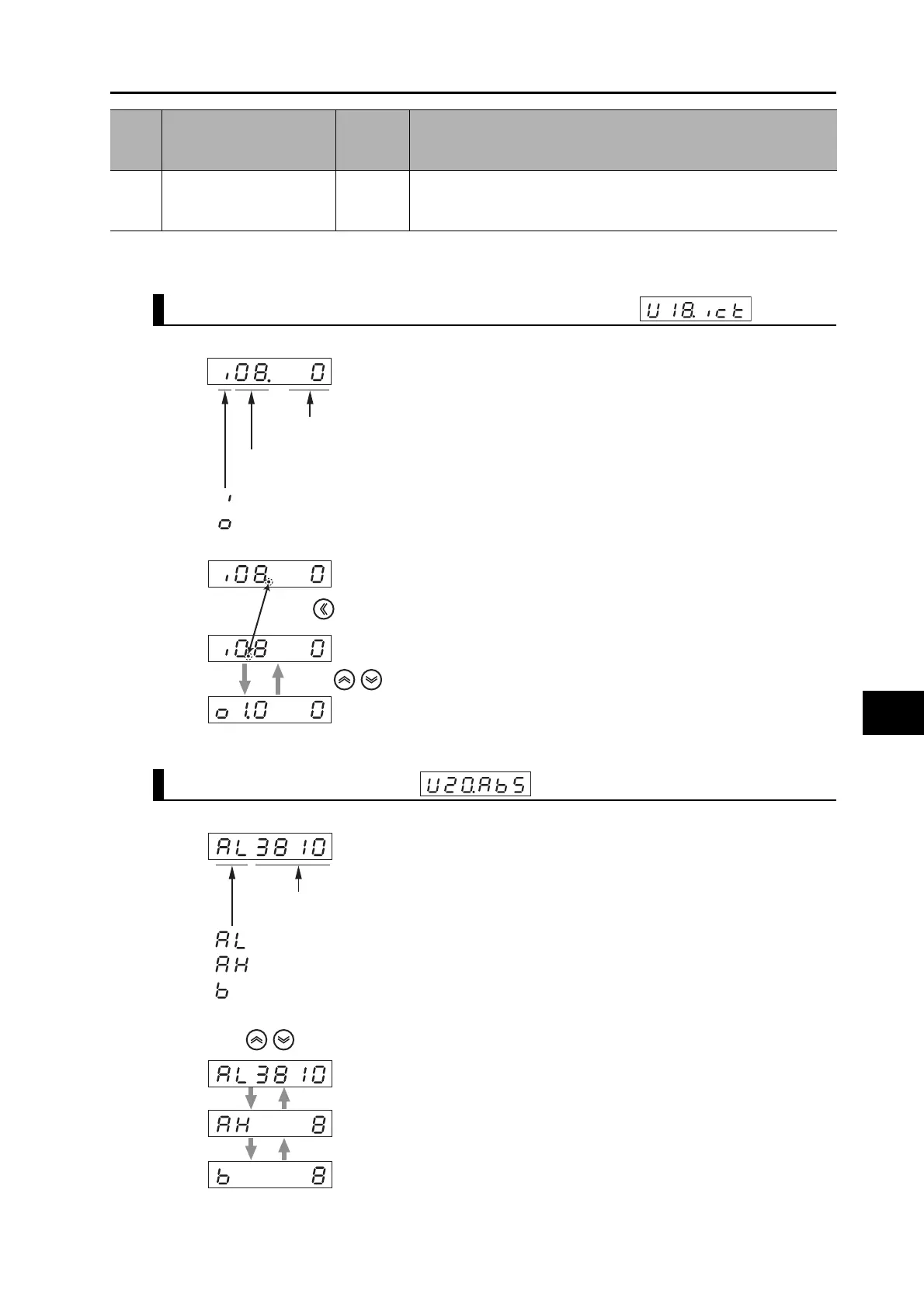
Display of the Number of I/O Signal Changes
Display the number of transitions in one input since last power-on.
Absolute Encoder Data
14
Other reasons
All
Reasons 1 to 13 do not apply, but the motor is rotating at 20 r/min or
lower. (Low command, heavy, locked, or crashed load, faulty drive
or motor, etc.)
Number
Item
Relevant
control
mode
Description
...Input signal
...Output signal
I/O signal change count
Pin number
If the decimal point is on the right side of the pin number,
the pin number can be changed.
If the decimal point is between the pin numbers,
you can switch between input and output.
Use to move the flashing decimal point.
Press to switch between input and output.
...1-rotation data, lower (L)
...1-rotation data, higher (H)
...Multi-rotation data
Encoder data
Press to select the data you want to display.

Table of Contents

Related product manuals