EasyManua.ls Logo

Oval ALTImass CA004 - System Configuration

Oval ALTImass CA004
98 pages
Print Icon
To Next Page IconTo Next Page
To Next Page IconTo Next Page
To Previous Page IconTo Previous Page
To Previous Page IconTo Previous Page
Loading...
L-737-3-E
90
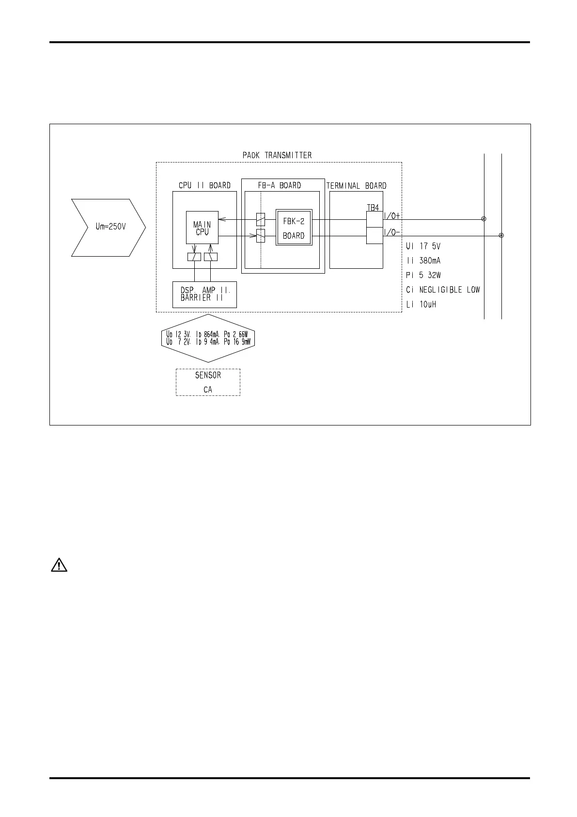
Fig.11.4
System Configuration
OVAL
OVAL
BUS LINE
(FISCO)
[Configuration of FISCO Explosion Protection]
The transmitters with FF Communication Specification and PROFIBUS Communication Specification are
connected to bus line via TB4 (I/O+, I/O -) of terminal board but the voltage applied from bus line to the
non-intrinsic safety circuit in the transmitter is separated (galvanically isolated) at FF Unit or PROFIBUS
Unit. Accordingly, please conform to the warning below in order to assure the establishment of FISCO
Explosion Protection when using FF or PROFIBUS Communication.
Connect the bus lines of FISCO System to I/O+ and I/O- of the transmitter communication signal terminal
board TB4. (Drawing below)
FF Unit or PROFIBUS Unit
Galvanic Isolation
WARNING:
Do not use analog output, pulse output and status when FF Communication
or PROFIBUS Communication is active. Do not perform wiring, either.

Table of Contents

Related product manuals