EasyManua.ls Logo

Panasonic FP-X0 L30R - Page 86

Panasonic FP-X0 L30R
290 pages
Print Icon
To Next Page IconTo Next Page
To Next Page IconTo Next Page
To Previous Page IconTo Previous Page
To Previous Page IconTo Previous Page
Loading...
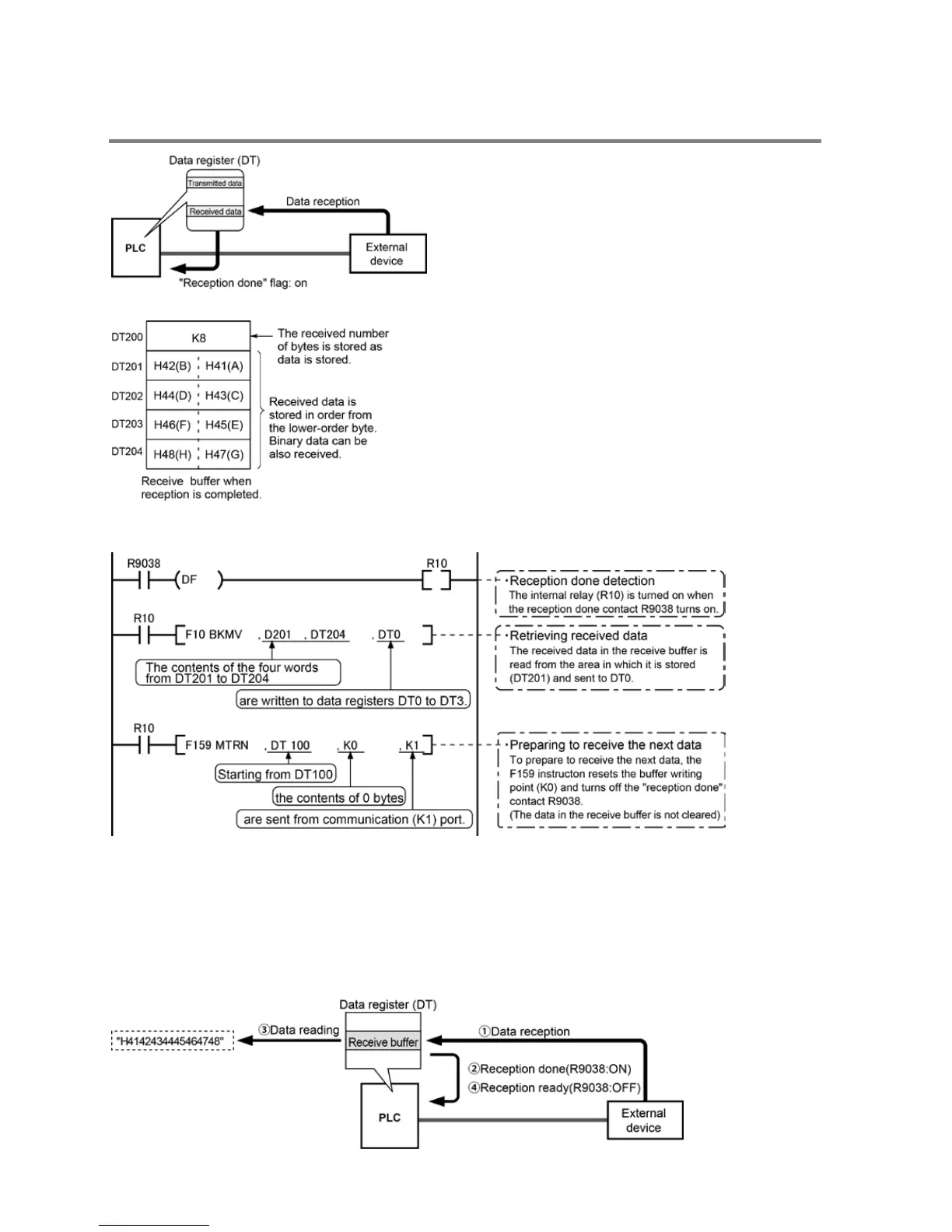
6.5.4 Receiving Data
Data input from the communication port is
stored in the receive buffer specified by the
system register, and the reception doneflag
goes on. If the reception done flag is off, data
can be received at any time.
Data table for reception (receive buffer)
DT200 to DT204 are used as the receive buffer.
System register settings are as follows:
- System register 416: K200
- System register 417: K5
Sample program for receiving data
10-byte data received in the receive buffer through the communication port 1 are copied to DT0.
The program described above is executed in the following sequence.
1) The data sent from external devices is stored in the receive buffer.
2) The reception done contact R9038 is turned on.
3) The received data is sent from the receive buffer to the area starting with data register DT0.
4) The F159 (MTRN) instruction is executed with no data to clear the number of received bytes and to
turn off the reception donecontact R9038. The system is now ready to receive the next data.
(The data in the receive buffer is not cleared.)
Explanatory diagram
Phone: 800.894.0412 - Fax: 888.723.4773 - Web: www.clrwtr.com - Email: info@clrwtr.com

Table of Contents

Related product manuals