EasyManua.ls Logo

Panasonic SA-PM4E - Disassembly Flow Chart; Main Parts Location Diagram

Panasonic SA-PM4E
68 pages
Print Icon
To Next Page IconTo Next Page
To Next Page IconTo Next Page
To Previous Page IconTo Previous Page
To Previous Page IconTo Previous Page
Loading...
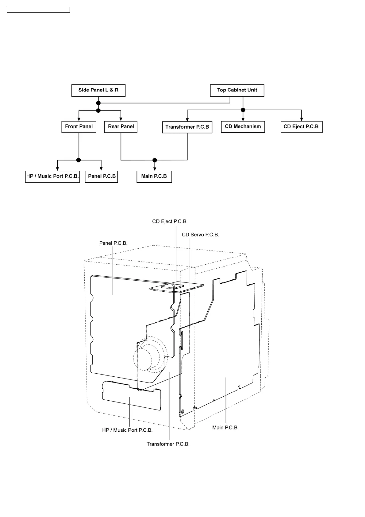
9.2. Disassembly flow chart
The following chart is the procedure for disassembling the casing and inside parts for internal inspection when carrying out the
servicing.
To assemble the unit, reverse the steps shown in the chart below.
9.3. Main Parts Location Diagram
18
SA-PM4E / SA-PM4EB / SA-PM4EG

Table of Contents

Related product manuals