EasyManua.ls Logo

Philips MC-50/22 - Exploded View - Tape Module

Philips MC-50/22
94 pages
Print Icon
To Next Page IconTo Next Page
To Next Page IconTo Next Page
To Previous Page IconTo Previous Page
To Previous Page IconTo Previous Page
Loading...
9-9
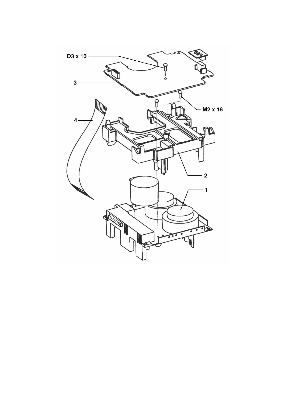
EXPLODED VIEW - TAPE MODULE
1 3139 118 77920 Tape Mechanism CRH4434
4 4822 320 12605 Flex Cable 8P 7,5cm
Note: Only the parts mentioned in this list are normal
service spare parts.
www.freeservicemanuals.info
It`s Free

Table of Contents

Related product manuals