EasyManua.ls Logo

Physio Control LIFEPAK 9 - Page 194

Physio Control LIFEPAK 9
214 pages
Print Icon
To Next Page IconTo Next Page
To Next Page IconTo Next Page
To Previous Page IconTo Previous Page
To Previous Page IconTo Previous Page
Loading...
LIFEPAK
9
defibrillator/monitor
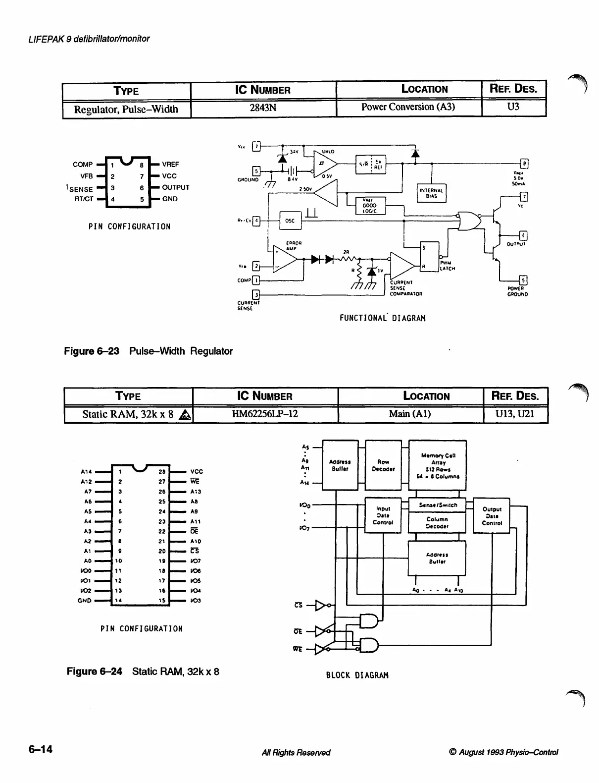
TYPE
İC
NUMBER
LOCATION
REF.
DES.
Regulator,
Pulse—Width
2843N
Power
Conversion
(A3)
U3
1
Uvi0
À
COMP
==
1
8
[=
VREF
NED
sa
ia
1
VEB
>
7
j=
vec
ll
Sov
İ
SENSE
3
6
OUTPUT
“|
INTERNAL
50m
BIAS
RTCT
4
5
==
GND
<|
Ta
LL
LOGIC
arcs
[eh
056
|
PIN
CONFIGURATION
|
|
<
é
LR
Veo
2
R
COMP
CURRENT
SENSE
3
COMPARATOR
CURRENT
SENSE
.
FUNCTIONAL
DIAGRAM
Figure
6-23
Pulse-Width
Regulator
TYPE
IC
NuMBER
LOCATION
Rer.
Des.
Static
RAM,
32kx8
À
HM62256LP-12
Main
(A1)
U13,
U21
AS
um
-=
Memory
Cell
Ag
Address
Row
Array
A14
1
vcc
An
Buller
Decoder
£12
Rows
<
64
=
8
Columns
12
2
We
Au
=
-一
2
3
AGI
]
A6
AB
.
As
:
κ
"ου
Input
-
Sense
Switch
output
ha
6
Ait
Control
Column
Cone
#3
7
δε
vO7
Decoder
A2
8
AIO
L
AI
9
CS
Aocress
40
10
VO?
Buiter
yoo
11
vos
yor
12
νος
|
|
yoo
43
MO4
AQ
+
ο
+
Ae
Arn
GND
14
VOI
cs
D
PIN
CONFIGURATION
ot
YI
|
we
o
Figure
6-24
Static
RAM,
32k
x
8
BLOCK
DIAGRAM
6-14
All
Rights
Reserved
©
August
1993
Physio—Control

Table of Contents

Other manuals for Physio Control LIFEPAK 9

Related product manuals