EasyManua.ls Logo

Physio Control LIFEPAK 9 - Page 195

Physio Control LIFEPAK 9
214 pages
Print Icon
To Next Page IconTo Next Page
To Next Page IconTo Next Page
To Previous Page IconTo Previous Page
To Previous Page IconTo Previous Page
Loading...
Component
Reference
Diagrams
6
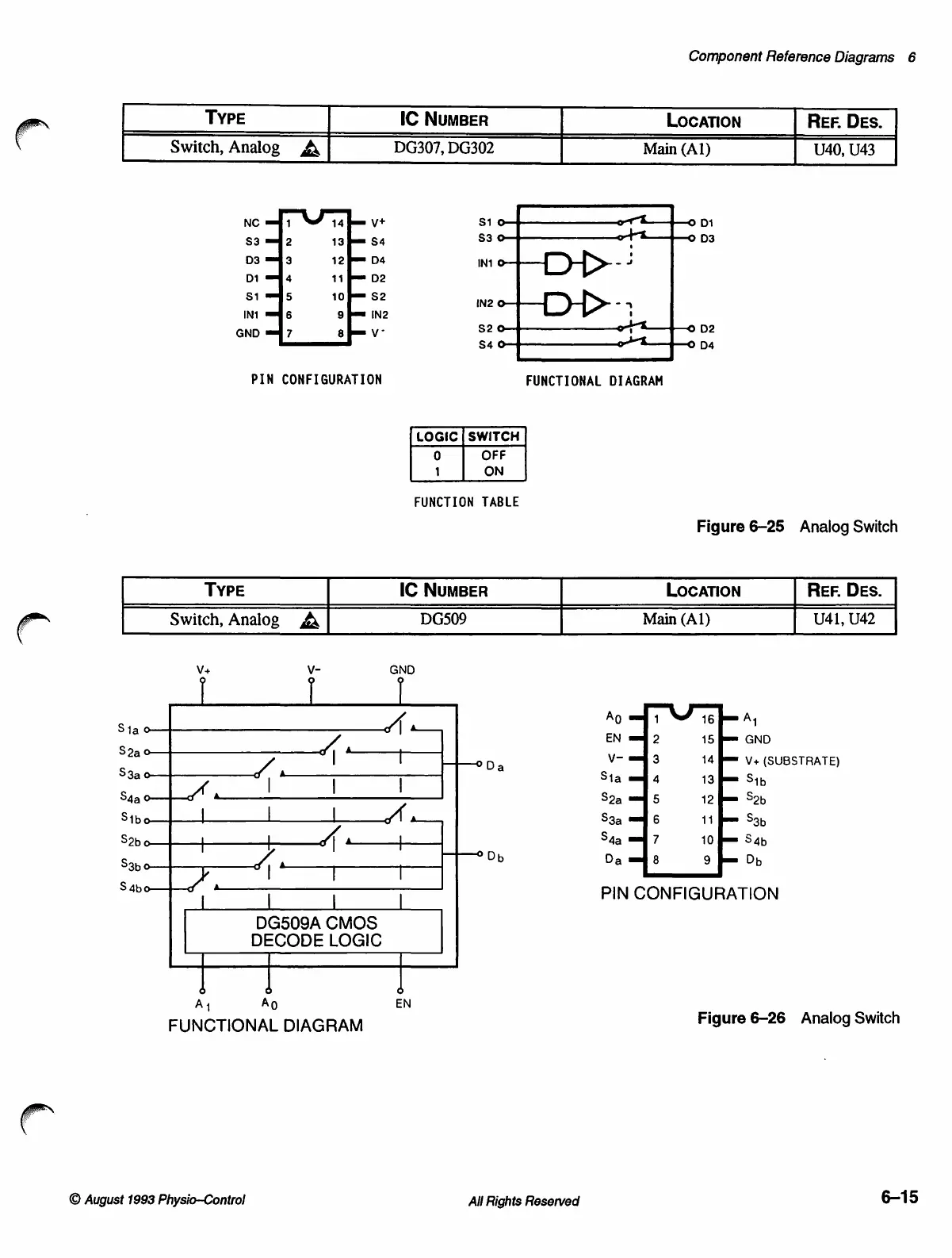
TYPE
IC
NUMBER
LOCATION
REF.
DES.
Switch,
Analog
A
DG307,
DG302
Main
(Al)
U40,
U43
NC
$3
D3
D1
$1
IN1
GND
ua
Y
+
S1
mm
S4
55
==
D4
IN1
=-
[32
pu S2
-
IN2
m
V
s2
|
S4
IN2
PIN
CONFIGURATION
FUNCTIONAL
DIAGRAM
LOGIC
|
SWITCH
0
OFF
1
ON
FUNCTION
TABLE
Figure
6-25
Analog
Switch
TYPE
IC
NUMBER
LOCATION
REF.
DES.
Switch,
Analog
À
DG509
Main
(Al)
U41,
U42
V+
V-
GND
ς
Ao mf
1
U
16
Ai
1a
EN
ml
2
151
GND
S2a
D
V~
3
14
J
V+
(SUBSTRATE)
S3a
8
9
la
-
4
13
fr
Si,
Saa
S2a
em]
5
12
Sob
515
998
om
6
118
Sap
526
546
7
10
==
Sap
Sap
Db
Са
=
8
9
=
Dp
Sav
PIN
CONFIGURATION
DG509A
CMOS
DECODE
LOGIC
Ao
EN
.
.
©
August
1993
Physio—Control
All
Rights
Reserved
6-15

Table of Contents

Other manuals for Physio Control LIFEPAK 9

Related product manuals