EasyManua.ls Logo

power automation PA 8000 EL - Dimension Sheet

power automation PA 8000 EL
108 pages
Print Icon
To Next Page IconTo Next Page
To Next Page IconTo Next Page
To Previous Page IconTo Previous Page
To Previous Page IconTo Previous Page
Loading...
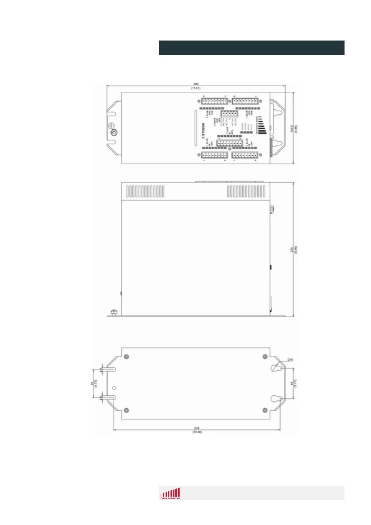
4.4 Dimension sheet
Fig. 39: dimension sheet
PA 8000 EL CNC control unit
Technical data
24.09.2015 | 67

Table of Contents

Related product manuals