EasyManua.ls Logo

PPT Vision A-Series - PPT LED Ringlight Specifications

Default Icon
48 pages
Print Icon
To Next Page IconTo Next Page
To Next Page IconTo Next Page
To Previous Page IconTo Previous Page
To Previous Page IconTo Previous Page
Loading...
PPT VISION, Inc. Basic Hardware Components
A-Series Hardware Guide
3-7
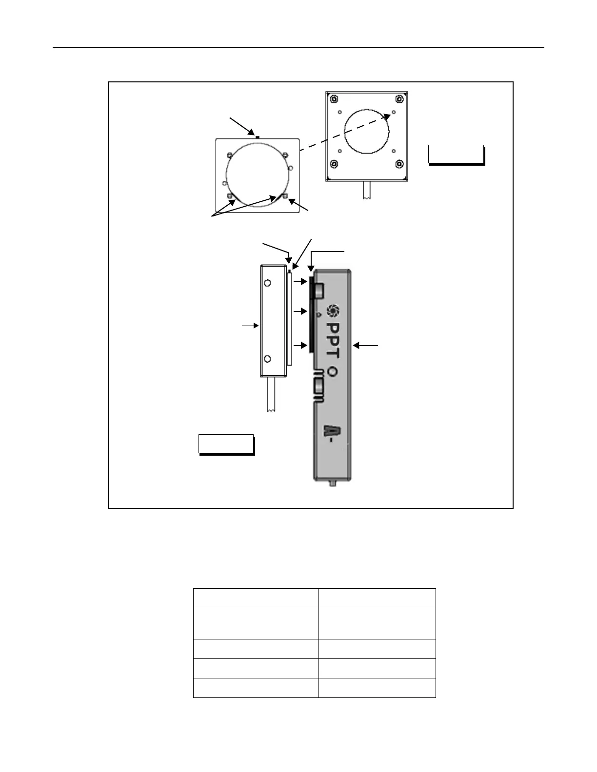
PPT LED Ringlight Specifications
This table lists the power and trigger specifications for the ringlight.
Power Input Voltage 24 VDC
Power Input Current 0.7 Amps Strobe
0.3 Amps Static
Trigger Input Voltage 0-26 VDC
Trigger Turn-On Voltage >3.3 VDC
Trigger Turn-Off Voltage <1.5 VDC
Adapter Mounting Holes 2M x 4mm (x 4)
Countersunk side out
Rear
2. Mount the adapter to
the ringlight and tighten
the mounting screws
LED ringlight
Side
Figure 1
1. Loosen the set screw
A-Series Camera
Adapter
Adapter Mounting
Ring
3.Slide the adapter and ring-
light over the adapter mount-
ing ring on the camera
Retaining flanges**
4.Be sure the retaining
flanges** on the adapter are
centered in the mounting ring
5.Gently tighten the set screw*
until the adapter is firmly attached
to the camera. Do not overtighten
Set Screw*