EasyManua.ls Logo

PPT Vision A-Series - RLD3 LED Ringlight Specifications

Default Icon
48 pages
Print Icon
To Next Page IconTo Next Page
To Next Page IconTo Next Page
To Previous Page IconTo Previous Page
To Previous Page IconTo Previous Page
Loading...
Basic Hardware Components PPT VISION, Inc.
3-12 A-Series Hardware Guide
RLD3 LED Ringlight Specifications
This table lists the power and trigger specifications for the ringlight.
Power Input Voltage 24 VDC
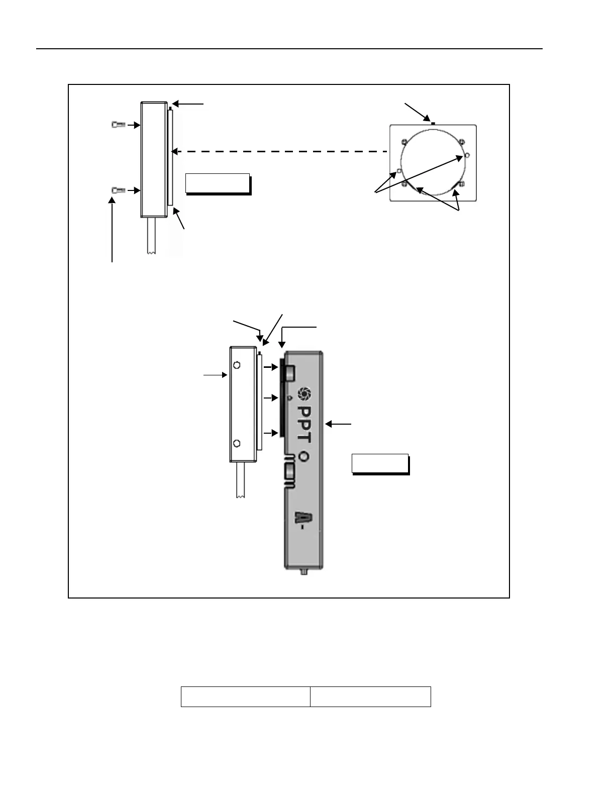
Adapter Mounting Holes
3M x 6mm (x 2)
Countersunk side out
Side
2. Mount the adapter to
the ringlight and tighten
the mounting screws.
RLD3 LED ringlight
Side View
Figure 2
1. Loosen the set screw
A-Series Camera
Adapter
Adapter Mounting
Ring
3.Slide the adapter and ring-
light over the adapter mount-
ing ring on the camera
Retaining flanges**
4.Be sure the retaining
flanges** on the adapter are
centered in the mounting ring
groove
5.Gently tighten the set screw*
until the adapter is firmly attached
to the camera. Do not overtighten
Set Screw*
Rear of ringlight
Adapter - Counter-
sunk side out
Mounting Screws (insert
through front of ringlight body)