EasyManua.ls Logo

ProMinent S3Cb - Page 67

ProMinent S3Cb
124 pages
Print Icon
To Next Page IconTo Next Page
To Next Page IconTo Next Page
To Previous Page IconTo Previous Page
To Previous Page IconTo Previous Page
Loading...
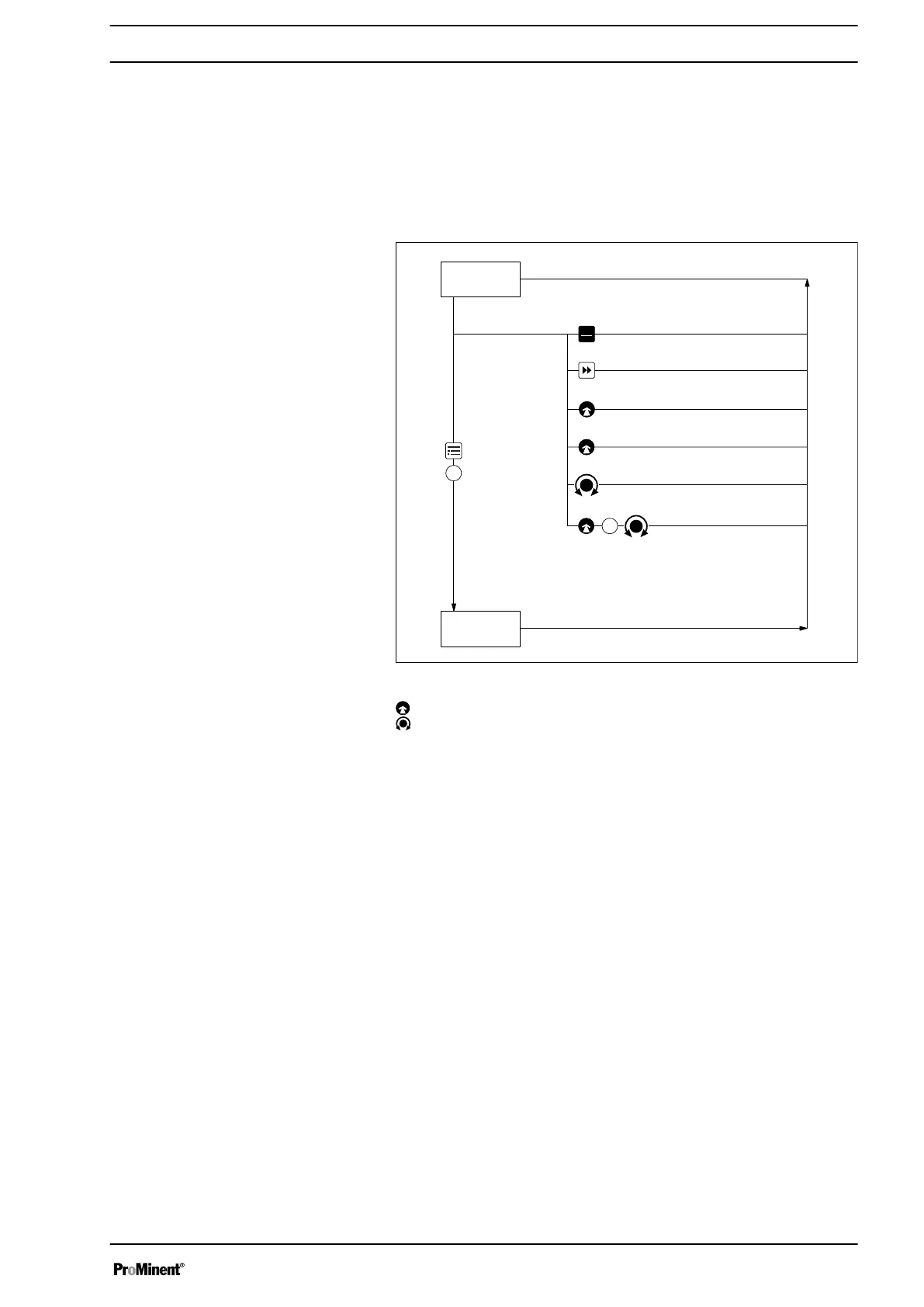
List of directly changeable variables:
n Capacity
n Stroke rate
n Factor
n Contact volume
n Batch volume
STOPSTOP
STARTSTART
1
Setting
mode
Continuous
display
Stop/start pump
Priming
Start batch (only in "Batch" mode)
Acknowledge errors
Check adjustable variables
2
Change directly adjustable variables
B1059
Fig. 36: Control options using the keys
Press the
[Clickwheel]
Turn the
[Clickwheel]
"Lock menu"
"Lock all"
Set-up overview of the Sigma X Control
type
Operation
67

Table of Contents

Related product manuals