EasyManua.ls Logo

Reliance 7900 - Outlet Plate Assembly

Reliance 7900
60 pages
Print Icon
To Next Page IconTo Next Page
To Next Page IconTo Next Page
To Previous Page IconTo Previous Page
To Previous Page IconTo Previous Page
Loading...
IN-790036
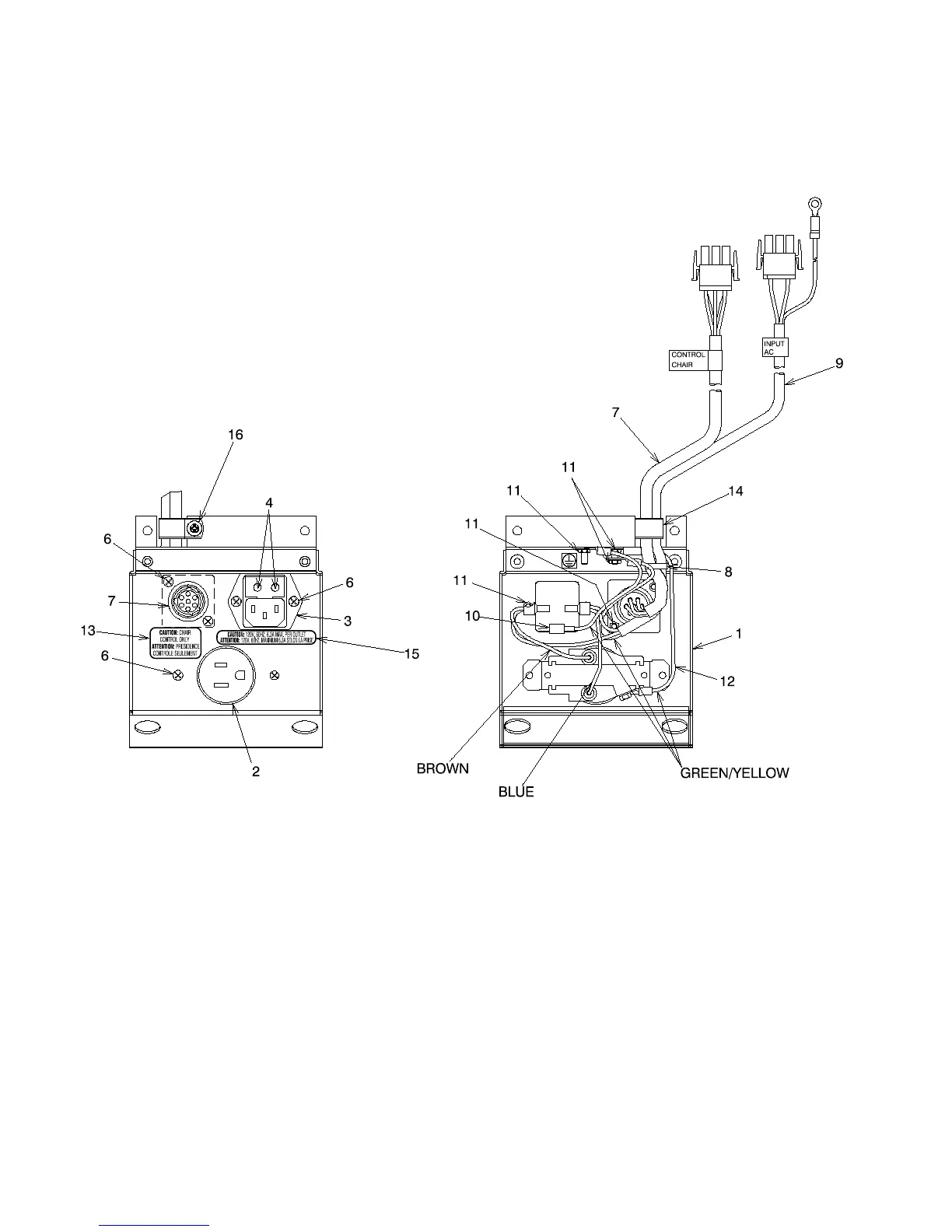
To order complete Outlet Plate Assembly use P/N’s.
1966992 Outlet Plate Assembly - 120V*
1967092 Outlet Plate Assembly - 230V*
*Please specify paint color when ordering.
FIGURE 26
OUTLET PLATE ASSEMBLY

Table of Contents

Related product manuals