EasyManua.ls Logo

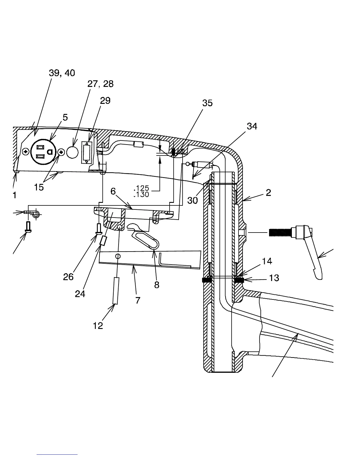
Reliance 7900 - SLIT LAMP ARM ASSEMBLY DIAGRAM; Slit Lamp Arm Assembly Exploded View

Reliance 7900
60 pages
Print Icon
To Next Page IconTo Next Page
To Next Page IconTo Next Page
To Previous Page IconTo Previous Page
To Previous Page IconTo Previous Page
Loading...
IN-7900
FIGURE 28
SLIT LAMP ARM ASSEMBLY

Table of Contents

Related product manuals