EasyManua.ls Logo

REMEHA Selecta - Page 28

REMEHA Selecta
73 pages
Print Icon
To Next Page IconTo Next Page
To Next Page IconTo Next Page
To Previous Page IconTo Previous Page
To Previous Page IconTo Previous Page
Loading...
Remeha Selecta
28
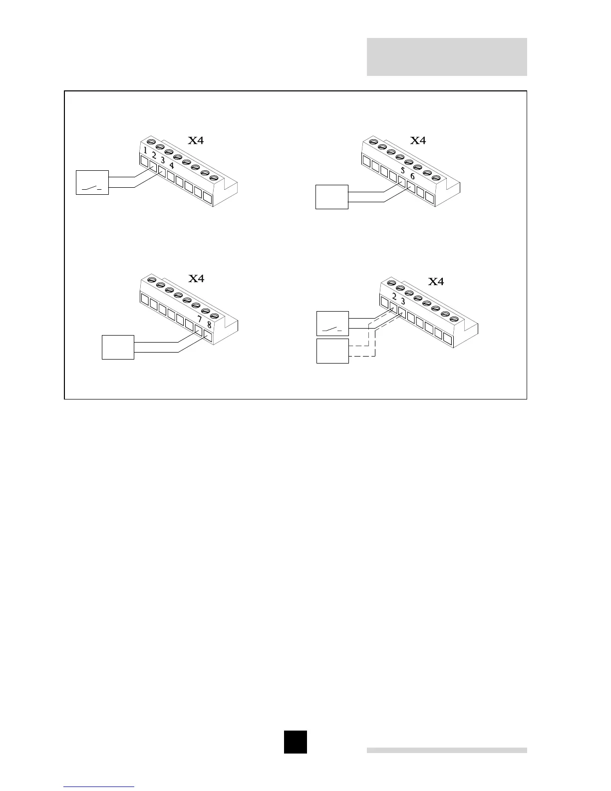
Fig. 16 External connections to terminal connector X4
pdf
Note: All electrical connections made to the X4 connector plug must be volt free
Explanation of diagrams:
1. Time only –on/off using a simple time clock or temperature only – on/off using
a simple room stat.
2. Time and temperature – compensated using programmable modulating con-
trol.
3. Temperature only – weather compensated using an outside sensor.
4. Temperature and frost protection – on/off using a simple room and frost stat.
1. + 3. Time and temperature – simple time clock and weather compensated using
an outside sensor.
OpenTherm modulating room thermostat2 wired on/off thermostat
Tr
Tr
mod.
outdoor sensor
To
extra frost thermostat
Tf
Tr

Table of Contents

Related product manuals