EasyManua.ls Logo

Riello 809 T80 - Regulación del Cabezal de Combustión

Riello 809 T80
64 pages
Print Icon
To Next Page IconTo Next Page
To Next Page IconTo Next Page
To Previous Page IconTo Previous Page
To Previous Page IconTo Previous Page
Loading...
7
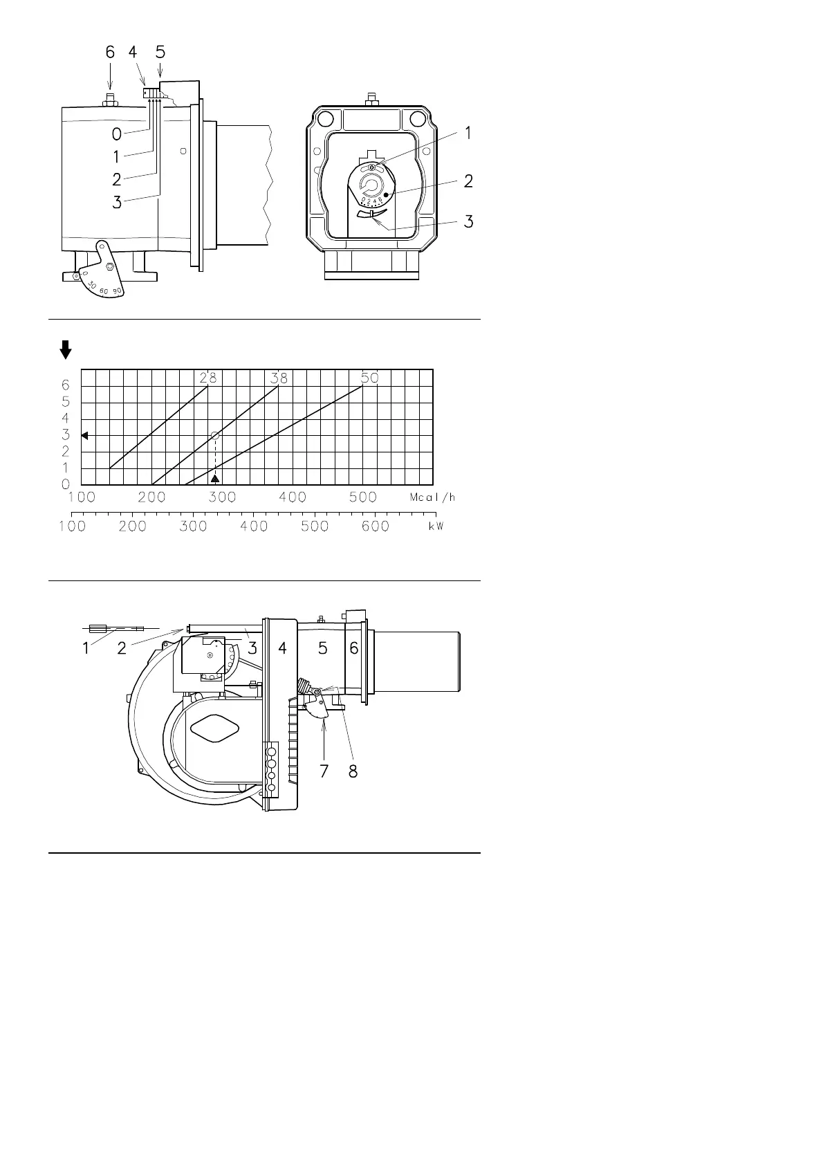
REGULACIÓN DEL CABEZAL DE COMBUS-
TIÓN
En este punto de la instalación, el tubo de llama
y el soporte quemador se fijan a la caldera
como se indica en la Fig. (A). Así pues, resulta
particularmente fácil efectuar el reglaje del
cabezal de combustión; esta regulación
depende unicamente de la potencia que desa-
rollará el quemador en 2.
a
llama.
Por tanto, antes de efectuar esta regulación se
debe conocer este valor.
En el cabezal se deben efectuar dos regulacio-
nes, la del aire y la del gas.
Hallar en el gráfico (C) la posición a la cual
regular el aire y el gas, del modo siguiente:
Regulación aire (A)
Girar el tornillo 4)(A) hasta que coincida el
número de posición hallada con el plano ante-
rior 5)(A) de la brida.
Regulación gas (B)
Aflojar el tornillo 1)(B) y girar el disco 2) hasta
que coincida el número de posición hallada con
el índice 3). Apretar bien el tornillo 1).
Ejemplo:
Quemador RS 38,
potencia quemador = 337 kW (290 Mcal/h)
En el grafico (C), para esta potencia el número
de posición de regulación del aire y del gas es
la 3, tal como está en los dibujos Fig.(A) y Fig.
(B).
NOTA
El gráfico (C) indica la regulación óptima del
cabezal. Si la presión de la red de alimentación
de gas es muy baja y no permite que se alcance
la presión que se indica en la pág. 5 en 2.
a
llama, y si el disco 2)(B) está sólo parcialmente
abierto, aún es posible abrir el disco 1 ó 2 posi-
ciones.
Siguiendo el ejemplo anterior, en la pág. 5 se ve
que para un quemador RS 38 con una potencia
de 337 kW (290 Mcal/h), se necesita una pre-
sión aproximada de 4,6 mbar en la toma 6)(A).
Si no se dispone de dicha presión, abrir el disco
2)(B) hasta la posición 4-5.
Verificar que la combustión sea satisfactoria y
sin pulsaciones.
Finalizada la regulación del cabezal, volver a
montar el quemador 4)(D) en las guías 3) a
unos 100 mm del soporte quemador 5) (quema-
dor en la posición que muestra la Fig. (B)p.6);
conectar los cables de la sonda y del electrodo
y a continuación desplazar el quemador hasta el
soporte (quemador en la posición que muestra
la Fig. (D).
Volver a colocar los tornillos 2) en las guías 3).
Fijar el quemador al soporte mediante el tornillo
1) y luego colocar el pasador en una de las dos
guías 3).
Montar la articulación 8) en el sector graduado 7).
Atención
En el momento de cerrar el quemador en las
guías, es conveniente tirar suavemente hacia
afuera del cable de alta tensión y del de la
sonda de ionización hasta que estén ligera-
mente tensados.
(A)
(C)
(B)
(D)
Potencia del quemador en 2.
a
llama
N° de posición (aire=gas)
D502
D503
D504

Table of Contents

Related product manuals