EasyManua.ls Logo

Riello 809 T80 - Regulação Do Cabeçal de Combustão

Riello 809 T80
64 pages
Print Icon
To Next Page IconTo Next Page
To Next Page IconTo Next Page
To Previous Page IconTo Previous Page
To Previous Page IconTo Previous Page
Loading...
7
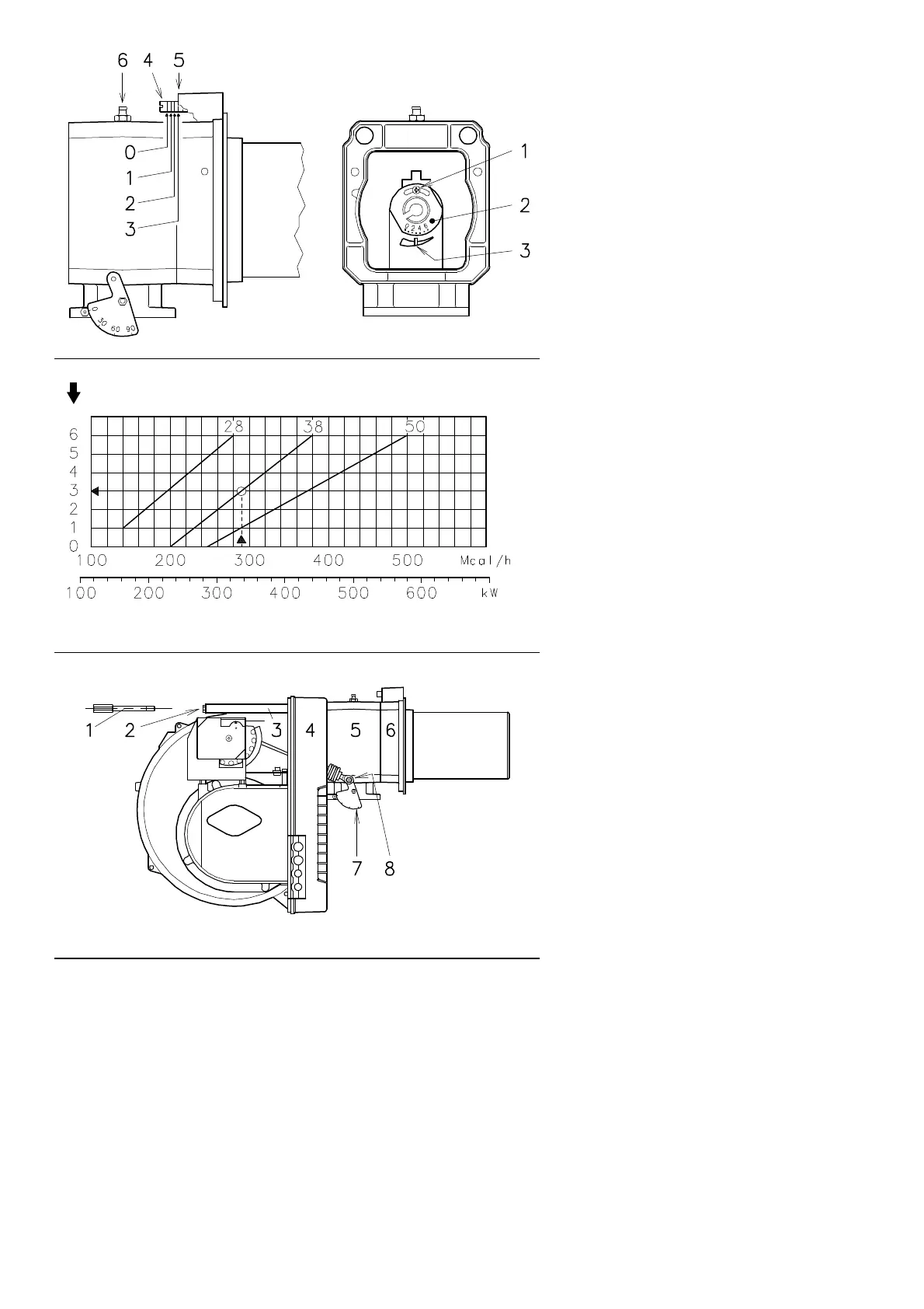
REGULAÇÃO DO CABEÇAL DE COMBUS-
TÃO
Neste ponto da instalação, o tubo de fogo e o
suporte queimador fixam-se à caldeira como é
indicado na Fig. (A). Assim, resulta particular-
mente fácil fazer a regulação do cabeçal de
combustão; esta regulação depende unica-
mente da potência desenvolvida pelo queima-
dor na 2
a
chama.
Portanto, antes de regular o cabeçal de com-
bustão, é preciso fixar este valor.
São previstas duas regulações do cabeçal, a do
ar e a do gás.
Procurar no gráfico (C) a posição à qual regular
o ar e o gás, da seguinte forma:
Regulação do ar (A)
Rodar o parafuso 4)(A) até que coincida o
número de posição calculada com o plano ante-
rior 5)(A) da flange.
Regulação do gás (B)
Aliviar o parafuso 1)(B) e rodar o disco 2) a
que coincida o número de posição calculada
com o índice 3). Apertar bem o parafuso 1).
Exemplo:
Queimador RS 38
Potência queimador = 337 kW (290 Mcal/h)
No gráfico (C), para esta potência o número de
posição de regulação de ar e gás é a 3, tal
como está nos desenhos Fig. (A) e Fig. (B).
NOTA
O gráfico (C) indica a regulação óptima do
cabeçal. Se a pressão da rede de alimentação
de gás é muito baixa e não permite que seja
alcançada a pressão indicada na pág. 5 na 2
a
chama, e se o disco 2)(B) está parcialmente
aberto, ainda é possível abrir o disco 1 ou 2
posições
Seguindo o exemplo anterior, na pág. 5 pode-se
observar que para um queimador RS 38 com
uma potência de 337 kW (290 Mcal/h), é
necessária uma pressão aproximada de 4,6
mbar na tomada 6)(A). Se não se dispõe da
referida pressão, abrir o disco 2)(B) até à posi-
ção 4-5.
Verificar que a combustão é satisfatória e sem
pulsações.
Finalizada a regulação do cabeçal, voltar a
montar o queimador 4)(D) nas guias 3) a cerca
de 100 mm do suporte queimador 5) (queima-
dor na posição indicada na Fig. (B)p.6 - ligar os
cabos da sonda e do eléctrodo e seguidamente
deslocar o queimador aao suporte (queima-
dor na posição indicada na Fig. (D).
Voltar a colocar os parafusos 2) nas guias 3).
Fixar o queimador ao suporte através do para-
fuso 1) e seguidamente colocar o passador
numa das duas guias 3).
Montar a articulação 8) no sector graduado 7).
Atenção
No momento de fechar o queimador nas guias,
é conveniente puxar suavemente para fora o
cabo de alta tensão e da sonda de ionização até
que estejam ligeiramente esticados.
(A)
(C)
(B)
(D)
Potência do queimador na 2
a
chama
N° de posição (ar=gás)
D502
D503
D504

Table of Contents

Related product manuals