EasyManua.ls Logo

Robe iForte - Page 9

Robe iForte
96 pages
Print Icon
To Next Page IconTo Next Page
To Next Page IconTo Next Page
To Previous Page IconTo Previous Page
To Previous Page IconTo Previous Page
Loading...
9
IMPORTANT: The xture head should be uncovered as short time as possible (about 1-2 hours depending on
air humidity) otherwise silica gel in the small boxes in the xture head may become damp.
If you have removed head cover and you need to interrupt your work for long time (hours, days), we recommend to
place the head cover on the head and fasten it provisionally by means of two screws, next possibility is un-
screwing small boxes with silica gel from the head and put it to a sealed container with limited access of air
(e.g. sealed plastic bag).
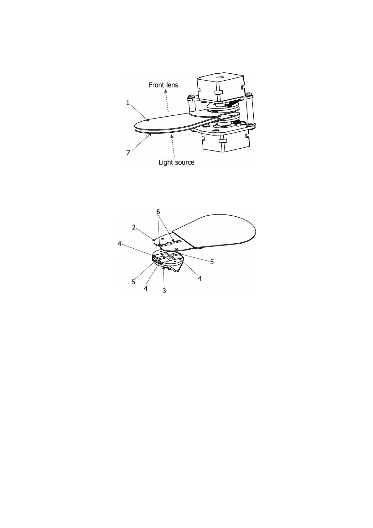
3
. The holder (2) of the frost foil is fastened to the frost holder (3) by means of the four magnets (4). Grip the
holder (2) and carefully tilt it out to break a force of magnets (4) on the frost holder (3).
4
. Place a new frost module into the frost holder (3). Check, that both slots (6) snapped correctly into two
protrusions (5) in the holder (3).
5. Check silica gel d
esiccants
in the xture head before placing head cover back on the xture.
6. P
lace the head cover back on the xture and screw it by means of the six
h
ex socket head screws M5x16
before applying power. Keep required tightening torque as stated in the chapter Maintenance.
Do not forget to connect grounding wire between chassis and head cover.
7.Run the procedure Pressure Test (Service -->Pressure Test).

Related product manuals