EasyManua.ls Logo

Rosco RB48 - Page 137

Rosco RB48
174 pages
Print Icon
To Next Page IconTo Next Page
To Next Page IconTo Next Page
To Previous Page IconTo Previous Page
To Previous Page IconTo Previous Page
Loading...
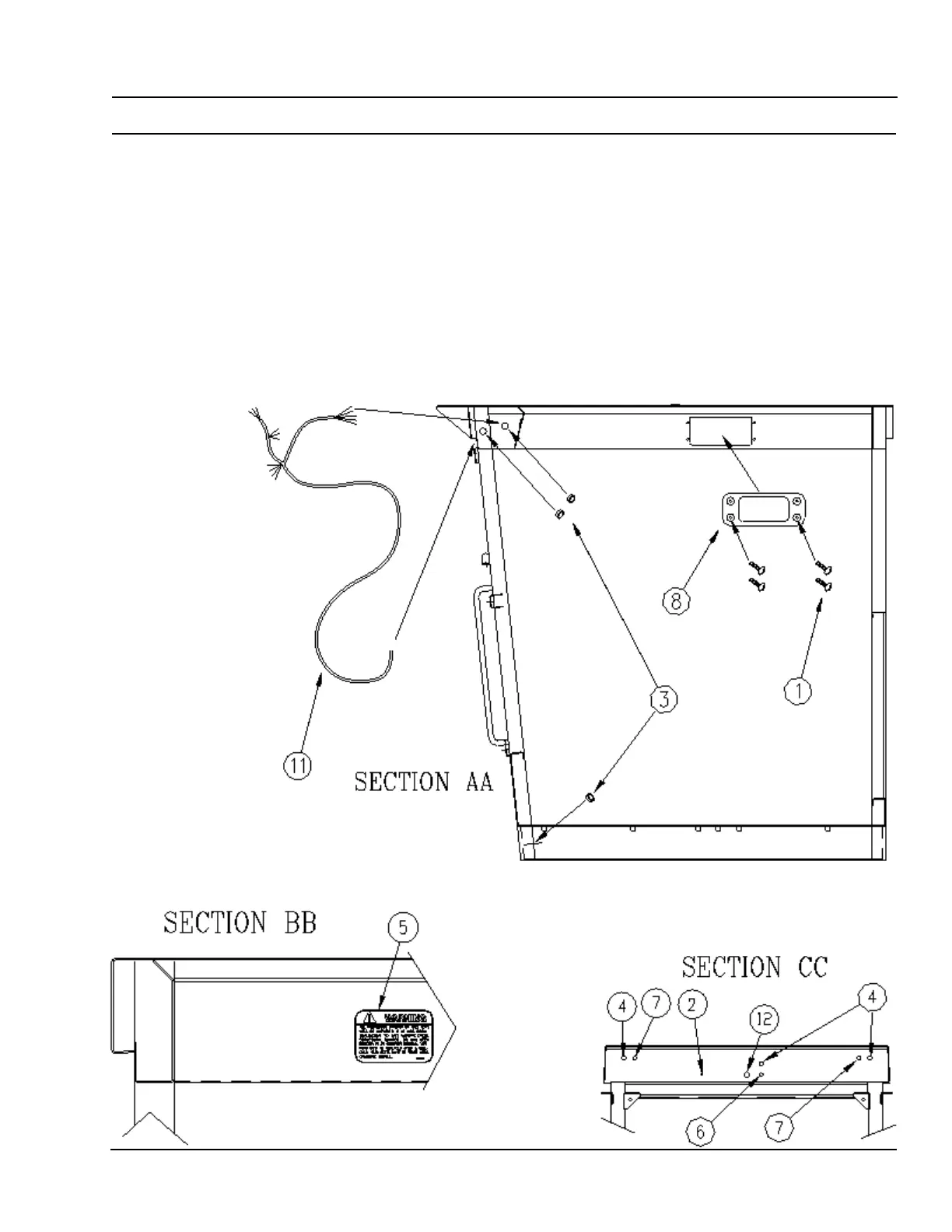
ROSCO - A LeeBoy Company 6. 79 Parts Book
REF.
REV.
RB48 BROOM
36689R
A
36689R ROPS CAB
1 .............. 80322............ 12.00 ............. SCR,SLFTPG,HH,.250-20X.50
2 .............. 35136-1......... 1.00 ............... PLUG,HOLE,.250,FLUSH MT,PLSTC
3 .............. 36688-54....... 3.00 ............... GROMMET,.94ID,1.12HOLE,SNAP IN
4 .............. 35136-5......... 3.00 ............... PLUG,HOLE,.625,FLUSH MT,PLSTC
5 .............. 38593............ 1.00 ............... DECAL,WARNING,ROPS
6 .............. 35136-4......... 1.00 ............... PLUG,HOLE,.500,FLUSH MT,PLSTC
7 .............. 35136-20....... 2.00 ............... PLUG,HOLE,.562,FLUSH MT,PLSTC
8 .............. 36688-08....... 3.00 ............... COVER,PLASTIC
9 .............. 78002-01....... 1.00 ............... W/M,OPEN ROPS
11 ............ 36688-66....... 1.00 ............... WIRE HARNESS,RB48 ROPS
12 ............ 35136-6......... 1.00 ............... PLUG,HOLE,.750,FLUSH MT,PLSTC
ITEM PART NO. QTY DESCRIPTION
CAB OPTIONS

Table of Contents