EasyManua.ls Logo

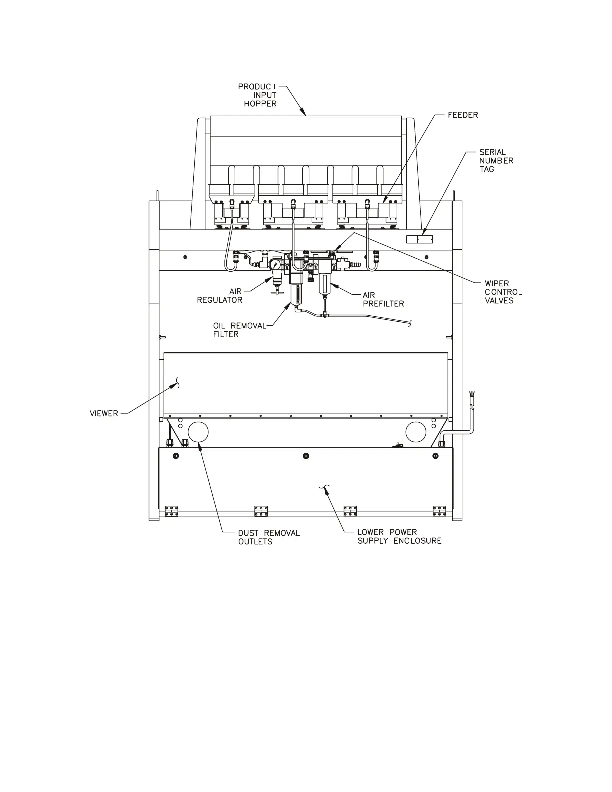
Satake Scan Master II - Scanmasterii, Rear View

Default Icon
98 pages
Print Icon
To Next Page IconTo Next Page
To Next Page IconTo Next Page
To Previous Page IconTo Previous Page
To Previous Page IconTo Previous Page
Loading...
Section 1—General Information 1-5
© 2008, Satake USA Inc.
(ALL RIGHTS RESERVED)
FIGURE 1-3
ScanMasterII, REAR VIEW

Table of Contents