EasyManua.ls Logo

SEA PUSH - Appendix

Default Icon
27 pages
Print Icon
To Previous Page IconTo Previous Page
To Previous Page IconTo Previous Page
Loading...
PUSH
English
Sistemi Elettronici
di Apertura Porte e Cancelli
International registered trademark n. 804888
®
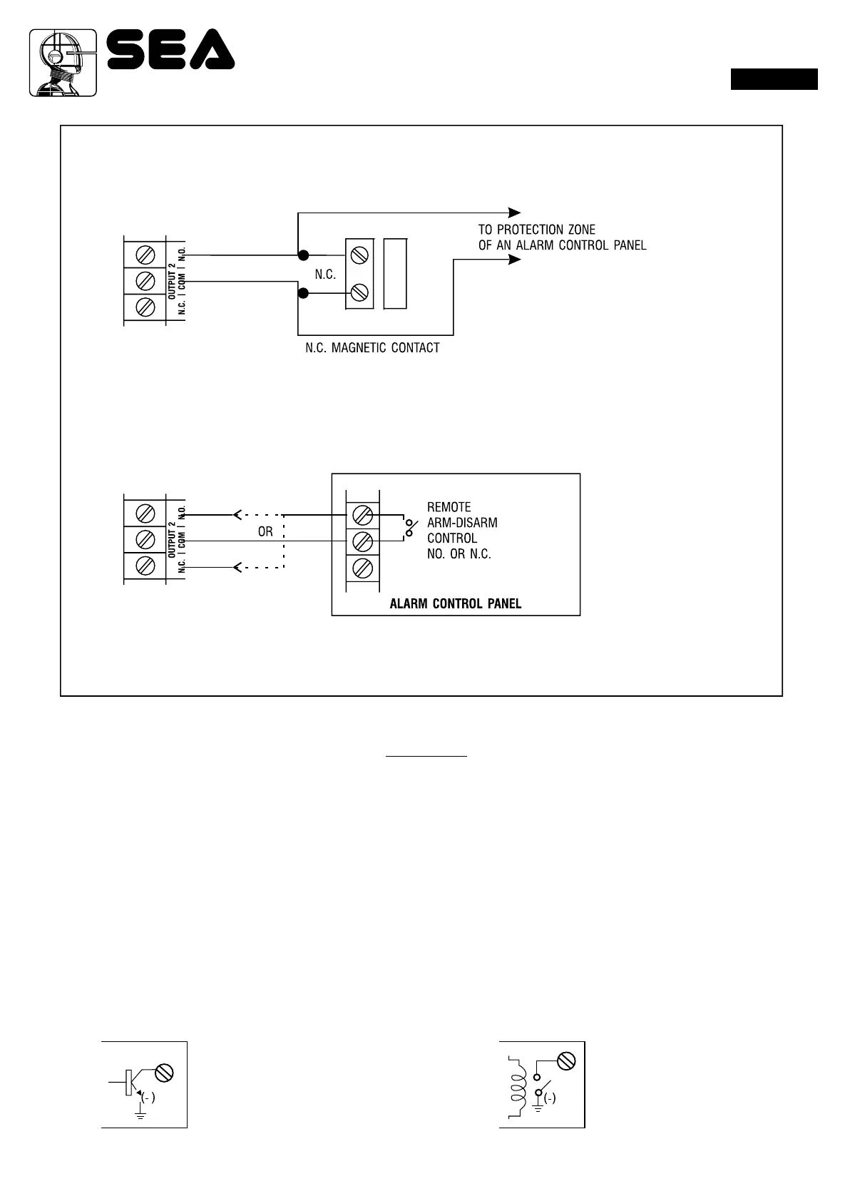
(F) OUTPUT 2
( i ) Shunting an N.C. Zone
• Use the Normally Open (N.O.) output contact to shunt a Normally Closed (N.C.) protection zone of an alarm
system.
• Set output contact to Start / Stop Mode (Programming Option 52, Output Mode=0).
( ii ) Alarm System Arm-Disarm Control
• Use the (N.O.) or (N.C.) output contact to make arm-disarm control of an alarm system.
APPENDIX
• DRY CONTACT
A dry contact means that no electricity is connected to it. It is prepared for free connections. The Relay Output contacts provided in
this keypad system are dry contacts.
• N.C.
Normally Closed, the contact is closed circuit at normal status. It is open circuit when active.
• N.O.
Normally Open, the contact is open circuit at normal status. It is closed circuit when active.
• TRANSISTOR OPEN COLLECTOR OUTPUT
An open collector output is equivalent to a Normally Open (N.O.) contact referring to ground similar to a relay contact referring to
ground. The transistor is normally OFF, and its output switches to ground (-) when active.
The open collector can only provide switching function for small power but it is usually good enough for controlling of an alarm
system. The Duress, Inter-lock and Key Active/Alarm Outputs of the keypad are open collector outputs.
OPEN COLLECTOR
OUTPUT
Output switches to
ground when activated
N.O. CONTACT
OUTPUT
Output switches to
ground when activated
EQUIVALENT
55Rev. 01 - 05/201167411245

Table of Contents

Related product manuals