EasyManua.ls Logo

Seltron AHC40 - Servisni Parametri

Seltron AHC40
160 pages
Print Icon
To Next Page IconTo Next Page
To Next Page IconTo Next Page
To Previous Page IconTo Previous Page
To Previous Page IconTo Previous Page
Loading...
Slovensko 143
SERVISNI PARAMETRI
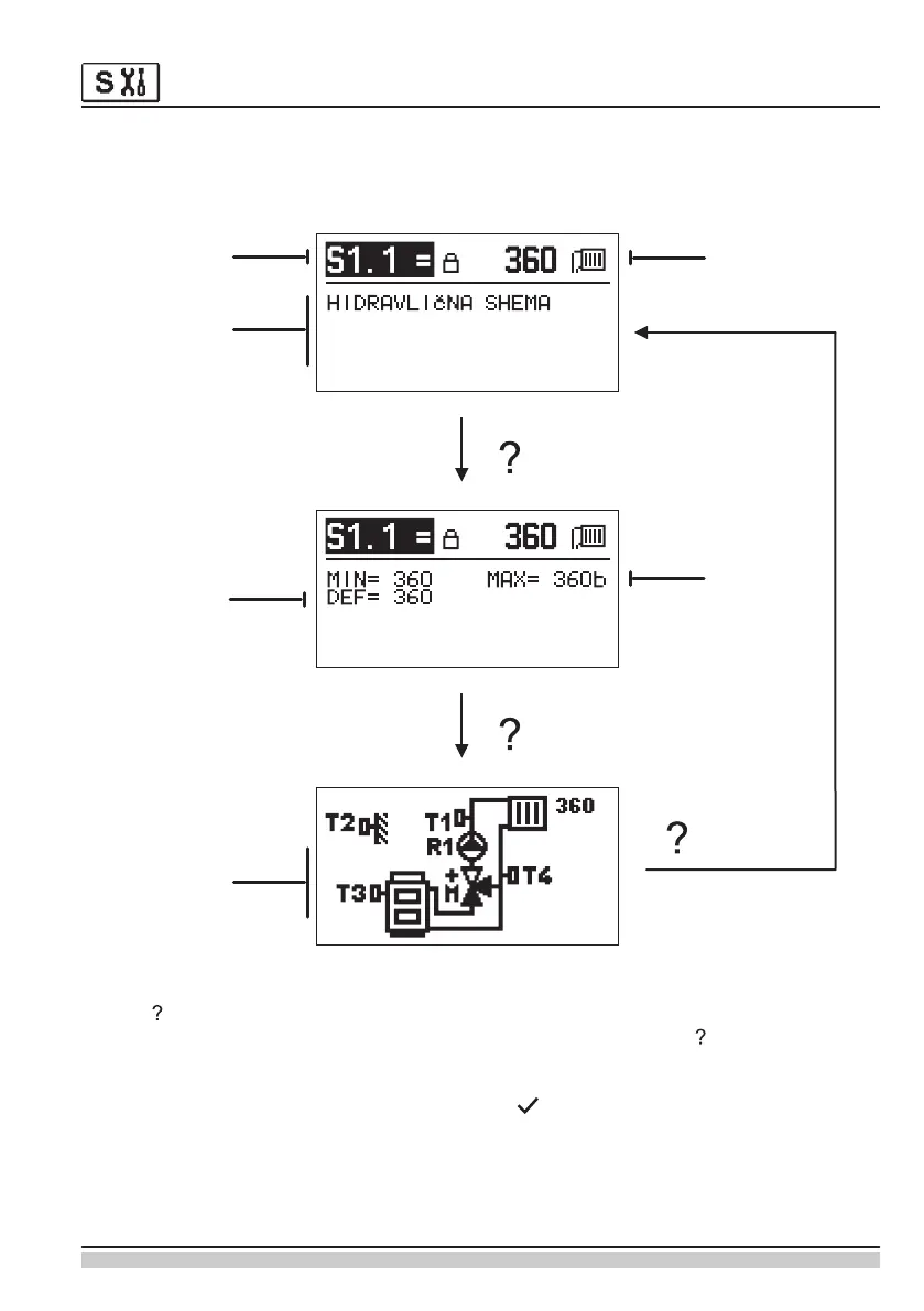
Servisni parametri so razvrščeni v skupine S1 - splošne nastavitve, S2 - nastavitve za
ogrevalni krog in S3 - nastavitve za kotel ali toplotni vir. S servisnimi parametri je možno
izbrati med mnogimi dodatnimi funkcijami in prilagoditvami delovanja regulatorja. Ko v
meniju izberemo želeno skupino parametrov se odpre nov zaslon:
Oznaka
parametra
Opis parametra
Trenutna vrednost
parametra
Tovarniška
vrednost
Območje
nastavitve
Hidravlična
shema
S tipko pogledamo območje nastavitve parametra in njegovo privzeto vrednost, pri
parametru S1.1 pa še hidravlično shemo. S ponovnim pritiskom tipke se vrnemo nazaj
na opis parametra.
Nastavitev spremenimo tako, da pritisnemo tipko . Ker so parametri tovarniško zaklen-
jeni, se odpre nov zaslon za vnos kode za odklepanje.

Table of Contents

Related product manuals