EasyManua.ls Logo

Sharp XE-A113 - Kreditverkauf; Gemischte Zahlung; Berechnung der Mwst;Aufschlagssteuer; Mwst;Aufschlagssteuersystem

Sharp XE-A113
404 pages
Print Icon
To Next Page IconTo Next Page
To Next Page IconTo Next Page
To Previous Page IconTo Previous Page
To Previous Page IconTo Previous Page
Loading...
37
Teil2
FÜR DEN BEDIENER
Teil3 Teil1
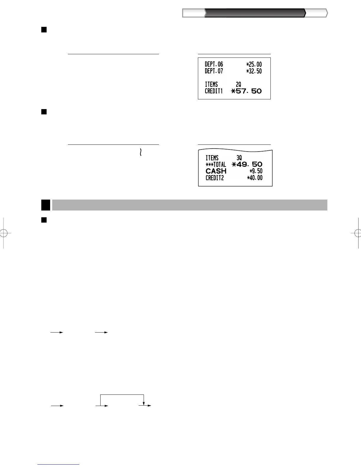
Kreditverkauf
Geben Sie die Posten ein, und drücken Sie eine Kredittaste (
c
oder
b
).
Gemischte Zahlung
Sie können gemischte Zahlung als Bar- und Scheckzahlung, Bar- und Kreditzahlung sowie Scheck- und
Kreditzahlung verbuchen.
MwSt/Aufschlagssteuersystem
Die Registrierkasse kann auf eines der folgenden sechs MwSt/Aufschlagssteuersysteme programmiert werden.
Im Auslieferungszustand ist die Registrierkasse auf das automatische MwSt-System 1-4 vorprogrammiert.
Automatisches MwSt-System 1-4 (Automatische Berechnungsmethode mit programmierten
Prozentsätzen)
Dieses System berechnet bei der Saldierung die MwSt für die steuerpflichtigen Zwischensummen 1 bis 4, wobei
die entsprechenden Prozentsätze eingesetzt werden.
Automatisches Aufschlagssteuersystem 1-4 (Automatische Berechnungsmethode mit programmierten
Prozentsätzen)
Dieses System berechnet bei der Saldierung die Steuer für die steuerpflichtigen Zwischensummen 1 bis 4,
wobei die entsprechenden Prozentsätze eingesetzt und die berechneten Steuern den Zwischensummen
zugeschlagen werden.
Manuelles MwSt-System 1-4 (Manuelle Eingabemethode mit programmierten Prozentsätzen)
Dieses System ermöglicht die Berechnung der MwSt für die steuerpflichtigen Zwischensummen 1 bis 4. Diese
Berechnung wird mit den entsprechend programmierten Prozentsätzen ausgeführt, wenn Sie die
t
-Taste
unmittelbar nach der
s
-Taste drücken.
Manuelles MwSt-System 1 (Manuelle Eingabemethode für Zwischensummen bei Verwendung des
programmierten MwSt-1 Prozentsatzes)
Dieses System ermöglicht die MwSt-Berechnung für die Zwischensumme. Diese Berechnung wird mit dem
programmierten MwSt-1-Prozentsatz ausgeführt, wenn Sie die
t
-Taste unmittelbar nach der
s
-Taste
drücken. Für dieses System kann ebenfalls ein über die Tastatur eingegebener Steuersatz verwendet werden.
MwSt-Satz
Zur Verwendung eines programmierten Prozentsatzes
s
t
s t
Berechnung der MwSt/Aufschlagssteuer
6
s
950 A
b
KassenbondruckTastenbedienung
2500
+
3250
*
c
KassenbondruckTastenbedienung
A113_2(De) 06.9.12 9:50 AM Page 37

Table of Contents

Other manuals for Sharp XE-A113

Related product manuals