EasyManua.ls Logo

Sharp XE-A113 - Programación de Texto; Nombres de Dependiente; Mensajes de Membrete

Sharp XE-A113
404 pages
Print Icon
To Next Page IconTo Next Page
To Next Page IconTo Next Page
To Previous Page IconTo Previous Page
To Previous Page IconTo Previous Page
Loading...
22
Consulte el apartado “Guía para la programación de texto” de la página 14 para la forma de introducir
caracteres.
Cuando pulsa una tecla del número apropiado (número del código de tarea) y pulsa la tecla
P
para una
entrada de texto justo después de haber comenzado la programación con la tecla
s
, la caja registradora
quedará automáticamente preparada para la entrada de texto.
Nombres de dependiente (12 dígitos)
Mensajes de membrete (6 líneas y 24 dígitos para cada línea)
La caja registradora puede imprimir mensajes programados en cada recibo. En el modelo estándar, se imprime
un mensaje de membrete de 3 líneas de emcabezamiento y de 3 líneas de pie de recibo en el recibo. Si desea
imprimir en otro formato de mensaje de membrete, cambie el formato. Para los detalles de la programación,
consulte la página 61. A continuación se enumeran las opciones:
* Tipo de “Mensaje de 3 líneas de encabezamiento”: 1 a 3
Tipo de “Mensaje de 6 líneas de encabezamiento”: 1 a 6
Tipo de “Mensaje de 3 líneas de encabezamiento y 3 líneas de pie de recibo”: 1 a 6 (1 a 3 como
encabezamiento, 4 a 6 como pie de recibo)
@
*Número de
líneas (1 a 6)
Teclas de caracteres
(máx. 24 dígitos)
As
Para mantener el ajuste vigente
Para programar otra línea
s4P
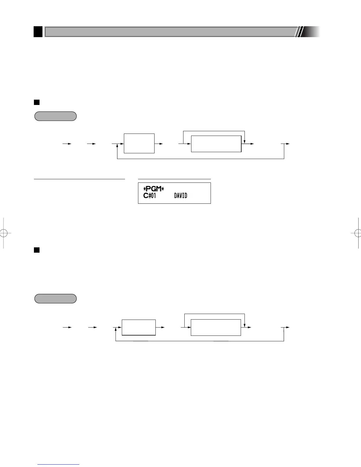
Procedimiento
s
5
P
1
@
DAVID
s
A
ImpresiónEjemplo de operación de teclas
s@
Para programar otro dependiente
Teclas de caracteres
(máx. 12 dígitos)
Número de
dependiente
(1 a 10)
A
Para mantener el ajuste vigente
s5P
Procedimiento
8
Programación de texto
A113_1(Sp) 06.9.11 7:08 PM Page 22

Table of Contents

Other manuals for Sharp XE-A113

Related product manuals