EasyManua.ls Logo

Sharp XE-A113 - Programacion de Funciones Avanzadas; Programación de Número de Caja Registradora y de Número Consecutivo

Sharp XE-A113
404 pages
Print Icon
To Next Page IconTo Next Page
To Next Page IconTo Next Page
To Previous Page IconTo Previous Page
To Previous Page IconTo Previous Page
Loading...
52
PROGRAMACION DE FUNCIONES AVANZADAS
El número de caja registradora y el número consecutivo se imprimen en el recibo o en el registro diario.
Cuando su tienda tiene dos o más cajas registradoras, es práctico ajustar números de caja registradora
distintos para su identificación. El número consecutivo aumenta en uno cada vez se emite un recibo o se realiza
una impresión de registro diario.
Para la programación de número consecutivo, introduzca un número (máx. 4 dígitos) que sea inferior en uno al
número inicial deseado.
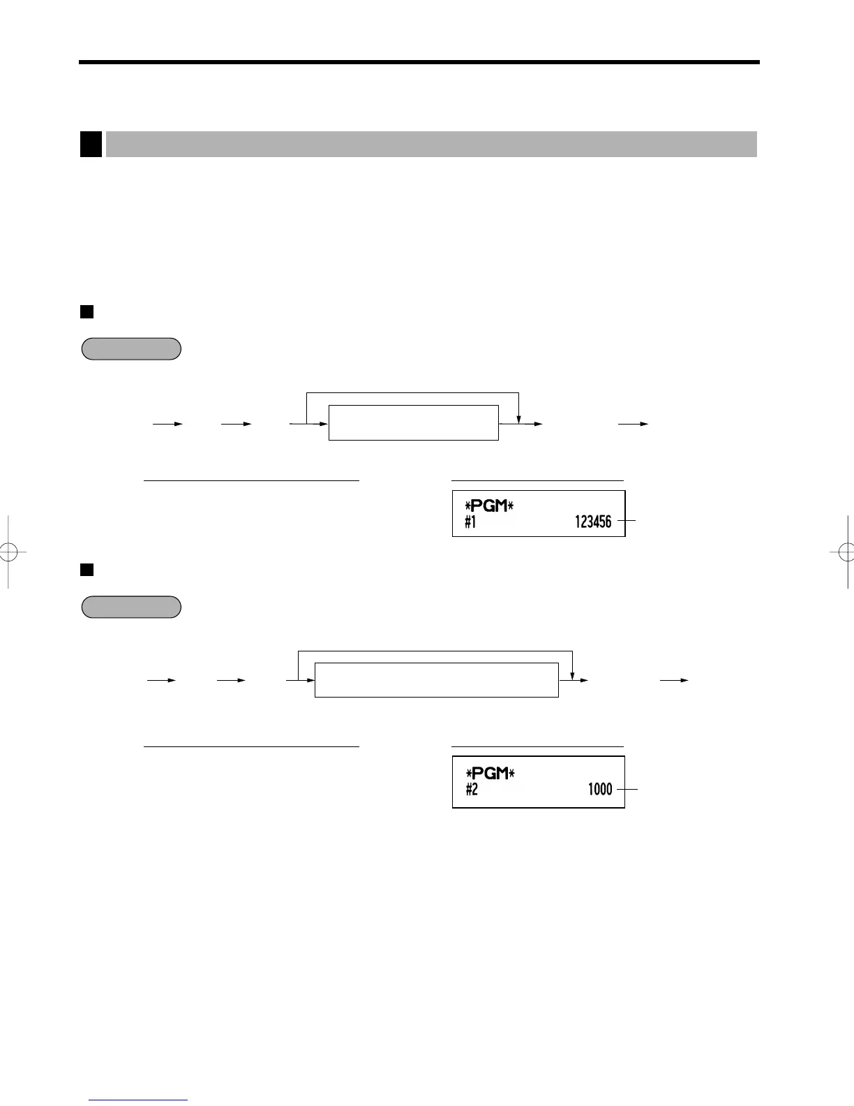
Número de caja registradora
Número consecutivo
Número
consecutivo
s
2
@
1000
sA
ImpresiónEjemplo de operación de teclas
2s
@
s A
Un número (de uno a cuatro dígitos) que
sea inferior en uno al número inicial deseado
Para empezar a contar desde 0001
Procedimiento
Número de caja
registradora
s
1
@
123456
sA
ImpresiónEjemplo de operación de teclas
s A
Número de caja registradora
(de uno a seis dígitos)
Para ajustar a 0 el número de la caja registradora
@s1
Procedimiento
Programación de número de caja registradora y de número consecutivo
1
A113_3(Sp) 06.9.11 7:12 PM Page 52

Table of Contents

Other manuals for Sharp XE-A113

Related product manuals