EasyManua.ls Logo

Sharp XE-A113 - Texto del Modo de Instrucción; Texto de Función

Sharp XE-A113
404 pages
Print Icon
To Next Page IconTo Next Page
To Next Page IconTo Next Page
To Previous Page IconTo Previous Page
To Previous Page IconTo Previous Page
Loading...
50
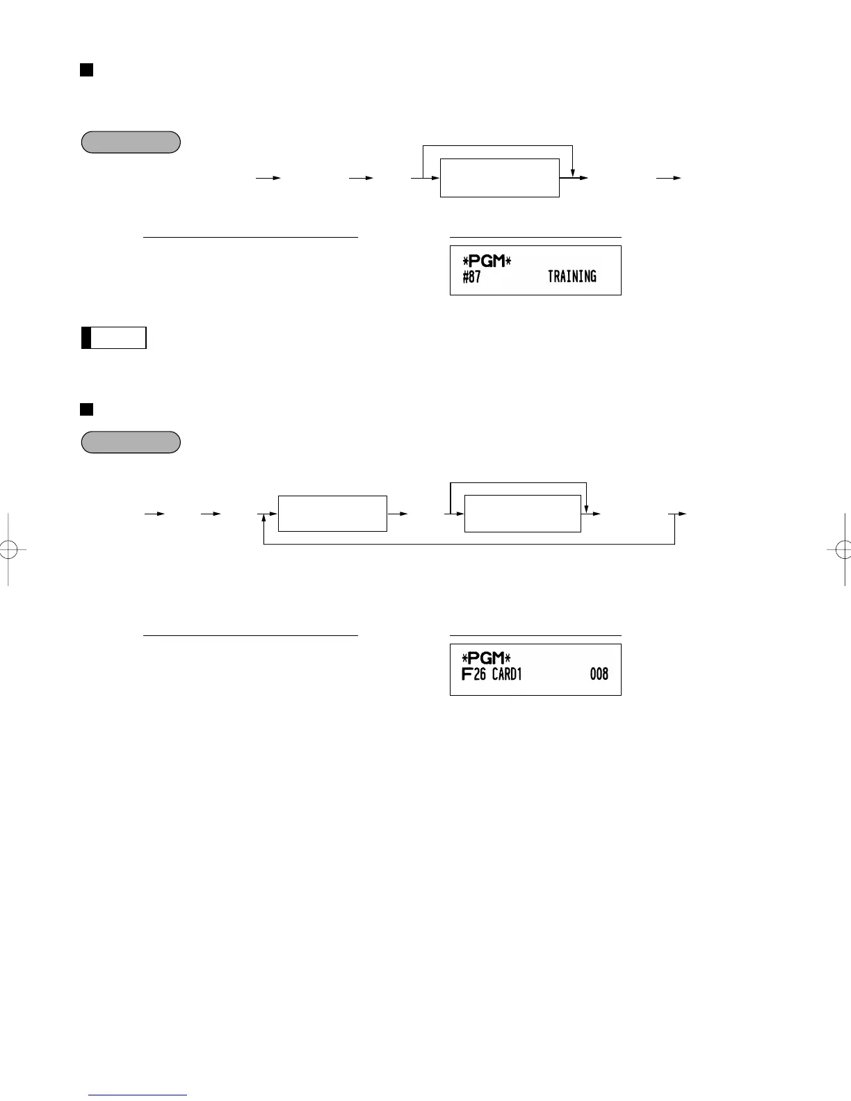
Texto del modo de instrucción (12 dígitos)
Para todos los recibos emitidos en el modo de instrucción, se imprime **TRAINING** en el ajuste
predeterminado. Cuando desee cambiar el texto, siga el procedimiento siguiente.
En los recibos emitidos en el modo de instrucción, el texto programado se imprime en caracteres
de tamaño doble.
Texto de función (12 dígitos)
* Número de función: Vea la Lista de textos de función mostrada en la página siguiente.
s
3
P
26
@
CARD
N
1
s
A
(Programación de CARD1
para el crédito 1)
ImpresiónEjemplo de operación de teclas
s P3 @
*Número de función
(máx. 2 dígitos)
Teclas de caracteres
(máx. 12 dígitos)
A
Para mantener el ajuste vigente
s
Para programar el texto de otra función
Procedimiento
Nota
s
87
P
SS
TRAINING
SS
sA
ImpresiónEjemplo de operación de teclas
Teclas de caracteres
(máx. 12 dígitos)
As
Para mantener el ajuste vigente
s87P
Procedimiento
A113_3(Sp) 06.9.11 7:12 PM Page 50

Table of Contents

Other manuals for Sharp XE-A113

Related product manuals