EasyManua.ls Logo

Sharp XE-A113 - Retourenregistrierung; Eingabe und Ausdrucken von Nicht-Addierenden Nummern

Sharp XE-A113
404 pages
Print Icon
To Next Page IconTo Next Page
To Next Page IconTo Next Page
To Previous Page IconTo Previous Page
To Previous Page IconTo Previous Page
Loading...
40
Abzug für Postenregistrierungen
Retourenregistrierung
Falls der Retourenposten in der Warengruppe 1 bis 16 registriert wurde, den Retourenbetrag eingeben, danach
die
f
-Taste und die entsprechende Warengruppentaste in dieser Reihenfolge drücken und falls der
Retourenposten in der Warengruppe 17 bis 32 registriert wurde, den Retourenbetrag eingeben und die
f
-
Taste drücken. Danach die
D
-Taste und die entsprechende Warengruppentaste in dieser Reihenfolge
drücken (beim Verwenden eines vorprogrammierten Preises die Betragseingabe weglassen.) Im Falle der
Warengruppen 33 bis 50, geben Sie den Warengruppencode ein und drücken Sie die
f
-Taste gefolgt von der
d
-Taste. Geben sie danach den Retourenbetrag ein und drücken Sie die
d
-Taste.
Falls der Retourenposten in einem PLU registriert wurde, den entsprechenden PLU-Code eingeben und die
f
-
Taste gefolgt von der
p
-Taste drücken.
Falls der Retourenposten in einer Sub-Warengruppe registriert wurde, geben Sie den PLU-Code ein und
drücken Sie die
f
-Taste gefolgt von der
p
-Taste. Geben Sie danach den Retourenbetrag ein und
drücken Sie die
p
-Taste.
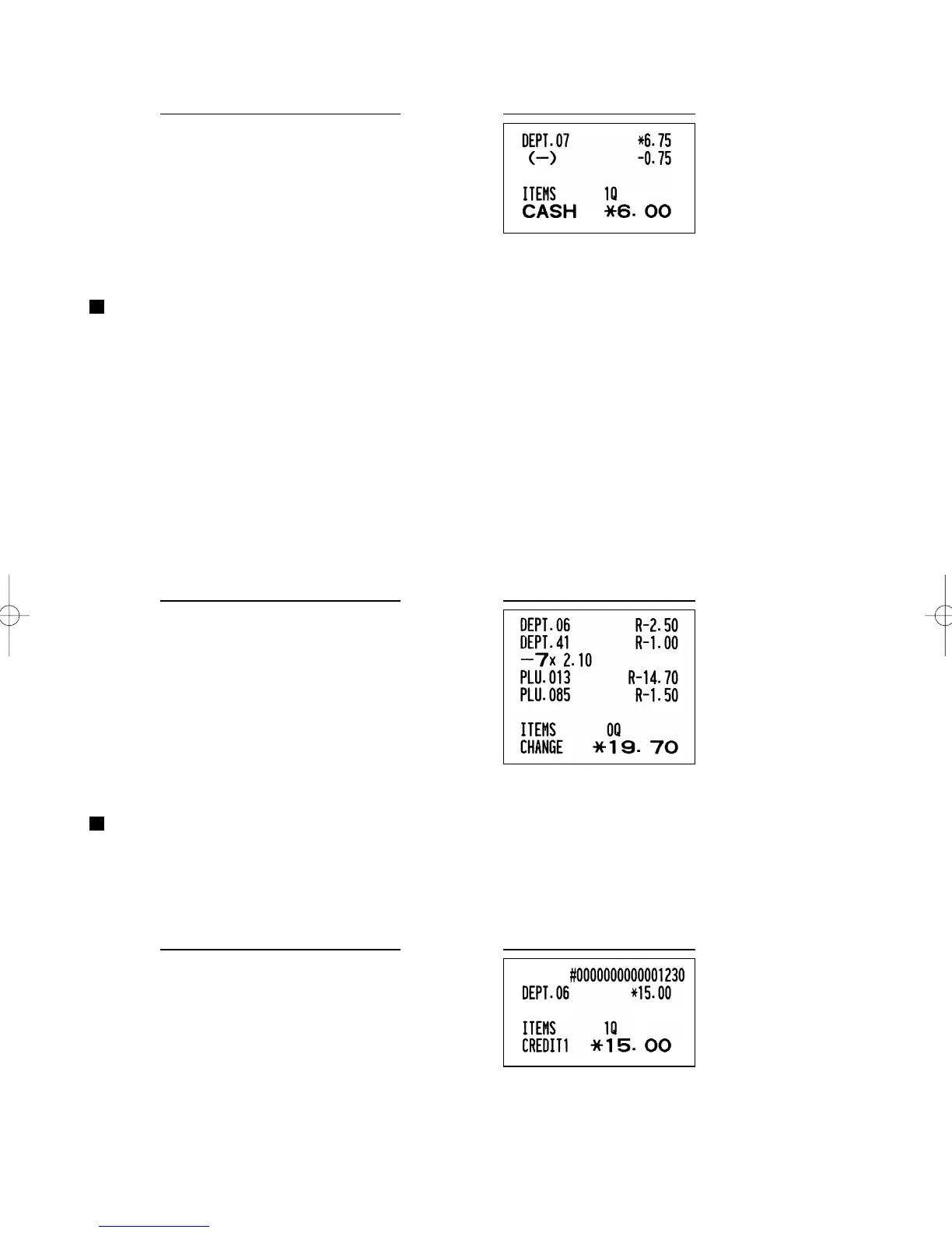
Eingabe und Ausdrucken von nicht-addierenden Nummern
Sie können eine nicht-addierende Nummer (z.B. eine Kundennummer oder Kreditkartennummer) mit bis zu
maximal 16 Stellen jederzeit während der Verkaufsregistrierung eingeben. Ihre Registrierkasse druckt die
Nummern sofort aus.
Um eine nicht-addierende Nummer einzugeben, geben Sie die Nummer ein und drücken die
s
-Taste.
1230
s
1500
+
c
KassenbondruckTastenbedienung
250
f+
41
fd
100
d
7
@
13
fp
85
fp
150
p
A
KassenbondruckTastenbedienung
675
*
-
A
(Wenn ein Abzugsbetrag von
0.75 programmiert ist)
KassenbondruckTastenbedienung
A113_2(De) 06.9.12 9:50 AM Page 40

Table of Contents

Other manuals for Sharp XE-A113

Related product manuals