EasyManua.ls Logo

Sharp XE-A113 - Tekst Voor Trainingfunctie; Tekst Voor Functies

Sharp XE-A113
404 pages
Print Icon
To Next Page IconTo Next Page
To Next Page IconTo Next Page
To Previous Page IconTo Previous Page
To Previous Page IconTo Previous Page
Loading...
50
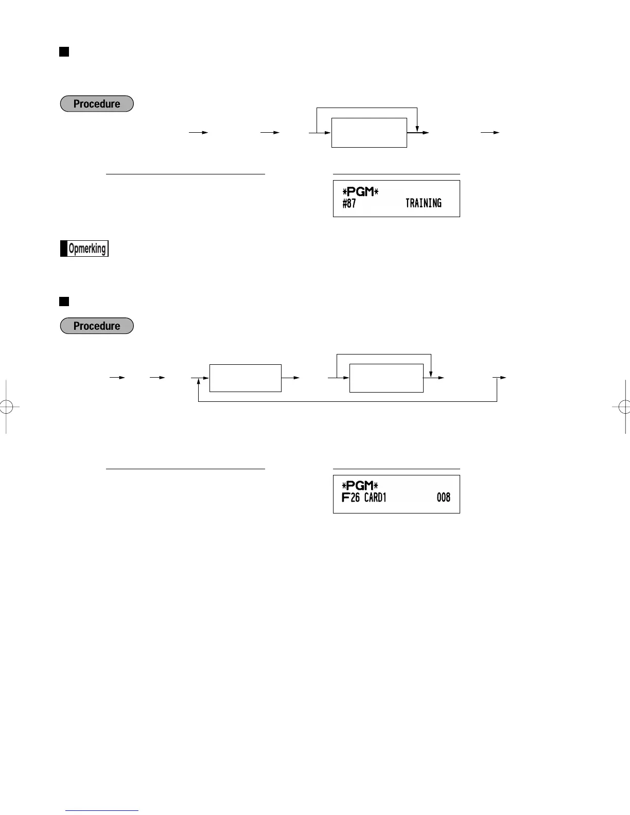
Tekst voor trainingfunctie (12 tekens)
Als fabrieksinstelling wordt TRAINING afgedrukt voor iedere bon die met de trainingfunctie wordt afgedrukt.
Volg de volgende procedure indien u de tekst wilt veranderen.
De geprogrammeerde tekst verschijnt met dubbel-formaat tekens op bonnen die met de
trainingfunctie worden afgedrukt.
Tekst voor functies (12 tekens)
* Functienummer: Zie de Lijst met tekst voor functies op de volgende bladzijde.
s
3
P
26
@
CARD
N
1
s
A
(Programmeren van CARD1
voor krediet 1)
AfdrukToetsbediening voorbeeld
*Functienummer
(max. 2 tekens)
Tekentoetsen
(max. 12 tekens)
Behouden van huidige instelling
Programmeren van andere tekst voor functies
s P3
@
As
s
87
P
SS
TRAINING
SS
sA
AfdrukToetsbediening voorbeeld
Tekentoetsen
(max. 12 tekens)
Behouden van huidige instelling
As
s87P
A113_3(Ne) 06.9.12 10:16 AM Page 50

Table of Contents

Other manuals for Sharp XE-A113

Related product manuals