EasyManua.ls Logo

Sharp XE-A113 - Mantenimiento para el Operador; En Caso de Corte de la Alimentación; En el Caso de Error de la Impresora; Precauciones al Manejar la Impresora y el Papel de Registro

Sharp XE-A113
404 pages
Print Icon
To Next Page IconTo Next Page
To Next Page IconTo Next Page
To Previous Page IconTo Previous Page
To Previous Page IconTo Previous Page
Loading...
75
Parte3
PARA EL ADMINISTRADOR
Parte2Parte1
MANTENIMIENTO PARA EL OPERADOR
Si se corta la alimentación, la máquina retiene el contenido de su memoria y toda la información sobre las
entradas de ventas.
Cuando el corte de la alimentación ocurre en el estado libre de la caja
registradora o cuando está realizando una entrada, la máquina retorna al
funcionamiento normal después de recuperarse la alimentación.
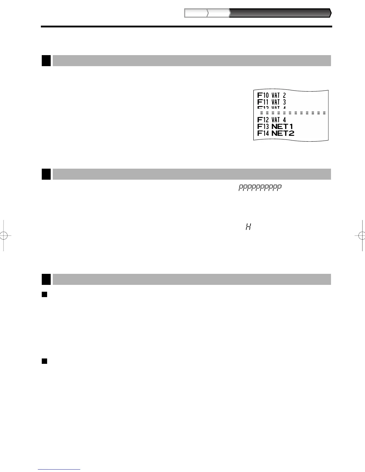
Cuando el corte de la alimentación ocurre durante un ciclo de impresión, la
caja registradora imprime ============ y lleva a cabo después el
procedimiento de impresión correcto después de recuperarse la alimentación.
(Vea el ejemplo de impresión.)
Si se termina el papel de la impresora, se parará la impresora, y aparecerá “” en el
visualizador. No pueden aceptarse los registros de teclas. Consultando la sección 5 en este capítulo, instale un
rollo de papel nuevo, y luego pulse la tecla . La impresora imprimirá el símbolo de falla de la alimentación y
reanudará la impresión.
Si se levanta el brazo del rodillo impresor, se parará la impresora y aparecerá “” en el visualizador. No
pueden aceptarse los registros de teclas. Empuje el brazo hacia abajo hasta que se bloquee con seguridad, y
entonces pulse la tecla . La impresora imprimirá el símbolo de falla de la alimentación y reanudará la
impresión.
Precauciones al manejar la impresora
Evite los lugares polvorientos y húmedos, la luz directa del sol y el polvo metálico. (En esta máquina se
emplean un imán permanente y un electroimán.)
No tire nunca del papel cuando esté bloqueado el brazo del rodillo impresor. Levante primero el brazo, y luego
quite el papel.
No toque nunca la superficie del cabezal de impresión ni el rodillo impresor.
Precauciones al manejar el papel de registro (papel térmico)
Utilice solamente el papel especificado por SHARP.
No desembale el papel térmico hasta que esté listo utilizarlo.
Evite el calor. El papel se coloreará a 70°C.
Evite lugares polvorientos y húmedos para guardar el papel. Evite la luz directa del sol.
El texto impreso en el papel puede descolorarse bajo condiciones de exposición a altas humedad y
temperatura, exposición a la luz directa del sol, contacto con agentes adhesivos, disolvente, o cianocopias
hechas recientemente, y al calor causado por la fricción de rayadas o por otras razones.
Tenga cuidado cuando maneje el papel térmico. Si desea guardar un registro permanente, copie el texto
impreso con una fotocopiadora.
Precauciones al manejar la impresora y el papel de registro
3
l
l
En el caso de error de la impresora
2
En caso de corte de la alimentación
1
A113_3(Sp) 06.9.11 7:12 PM Page 75

Table of Contents

Other manuals for Sharp XE-A113

Related product manuals