EasyManua.ls Logo

Sharp XE-A113 - Correction of the Next-To-Last or Earlier Entry (Indirect Void); Subtotal Void

Sharp XE-A113
404 pages
Print Icon
To Next Page IconTo Next Page
To Next Page IconTo Next Page
To Previous Page IconTo Previous Page
To Previous Page IconTo Previous Page
Loading...
27
Part1
QUICK START GUIDE
Part2 Part3
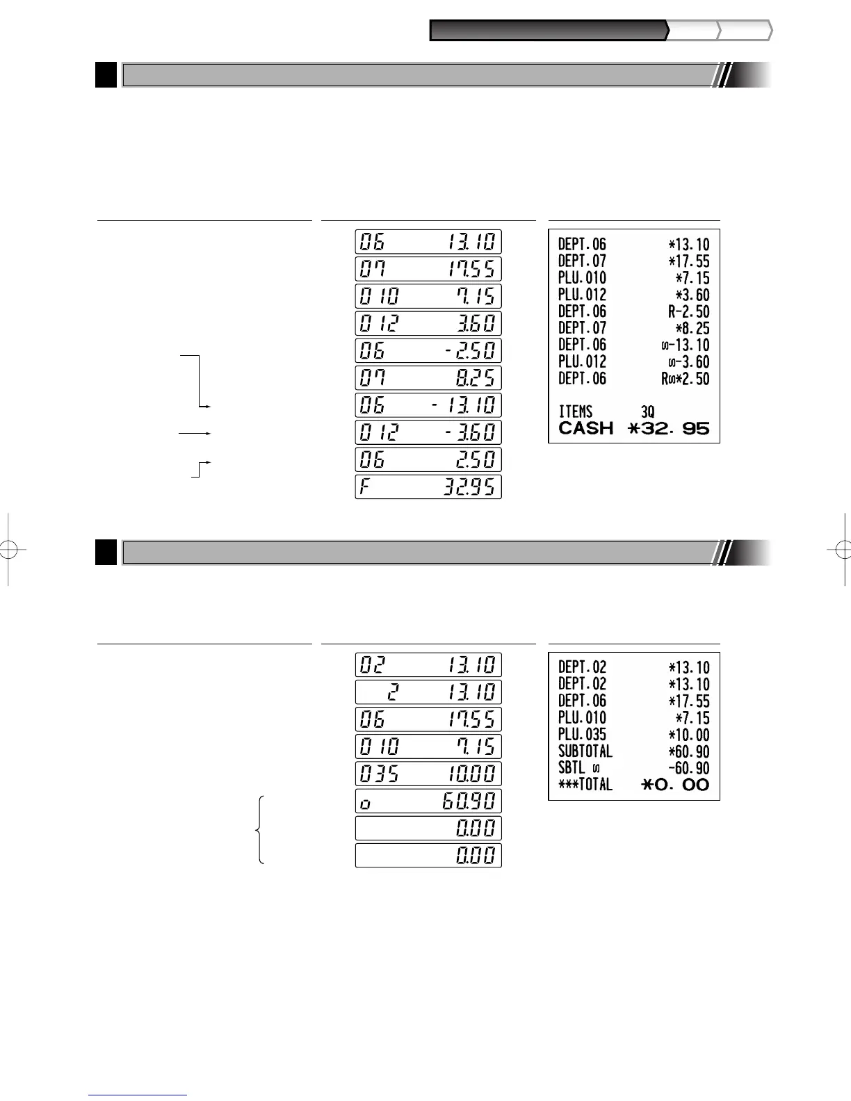
You can void any incorrect department entry, PLU/subdepartment entry or item refund entry made during a
transaction if you find it before finalizing the transaction (e.g. pressing the
A
key). This function is
applicable to department, PLU/subdepartment and refund entries only.
Press the
v
key just before you press a department key,
d
key or
p
key. For the refund indirect void,
press the
v
key after you press the
f
key.
You can void an entire transaction. Once subtotal void is executed, the transaction is aborted and the register
issues a receipt. This function does not work when more than 30 items have been entered.
Subtotal void
1310 "
"
1755 +
10 p
35 p
s
v
s
Receipt printOperator displayKey operation example
Correction
of a PLU entry
Correction of
a refund entry
Correction
of a
department
entry
1310 +
1755 *
10 p
12 p
250 f +
825 *
1310 v +
12 v p
250 f v +
A
Receipt printOperator displayKey operation example
4
Subtotal Void
3
Correction of the Next-to-last or Earlier Entry (indirect void)
A113_1 Quick Start Guide 06.9.11 6:35 PM Page 27

Table of Contents

Other manuals for Sharp XE-A113

Related product manuals