EasyManua.ls Logo

Sharp XE-A113 - Fonctions Facultatives; Entrées Auxiliaires; Calculs de Pourcentages (Primes Ou Rabais); Entrées de Déductions

Sharp XE-A113
404 pages
Print Icon
To Next Page IconTo Next Page
To Next Page IconTo Next Page
To Previous Page IconTo Previous Page
To Previous Page IconTo Previous Page
Loading...
39
Partie2
POUR LOPERATEUR
Partie3Partie1
FONCTIONS FACULTATIVES
Calculs de pourcentages (primes ou rabais)
Votre enregistreuse permet le calcul dun pourcentage pour le total partiel et/ou pour chaque entrée dun article,
selon la programmation. Veuillez vous référer à Taux pour
%
,
&
et
V
, Limitation du taux de pourcentage
pour
%
et
&
et Paramètres de fonction pour
%
,
&
et
-
.
Pourcentage: 0.01 à 100% (selon la programmation)
Lutilisation dun taux préréglé (sil a été programmé) et lentrée dun taux manuel sont
disponibles.
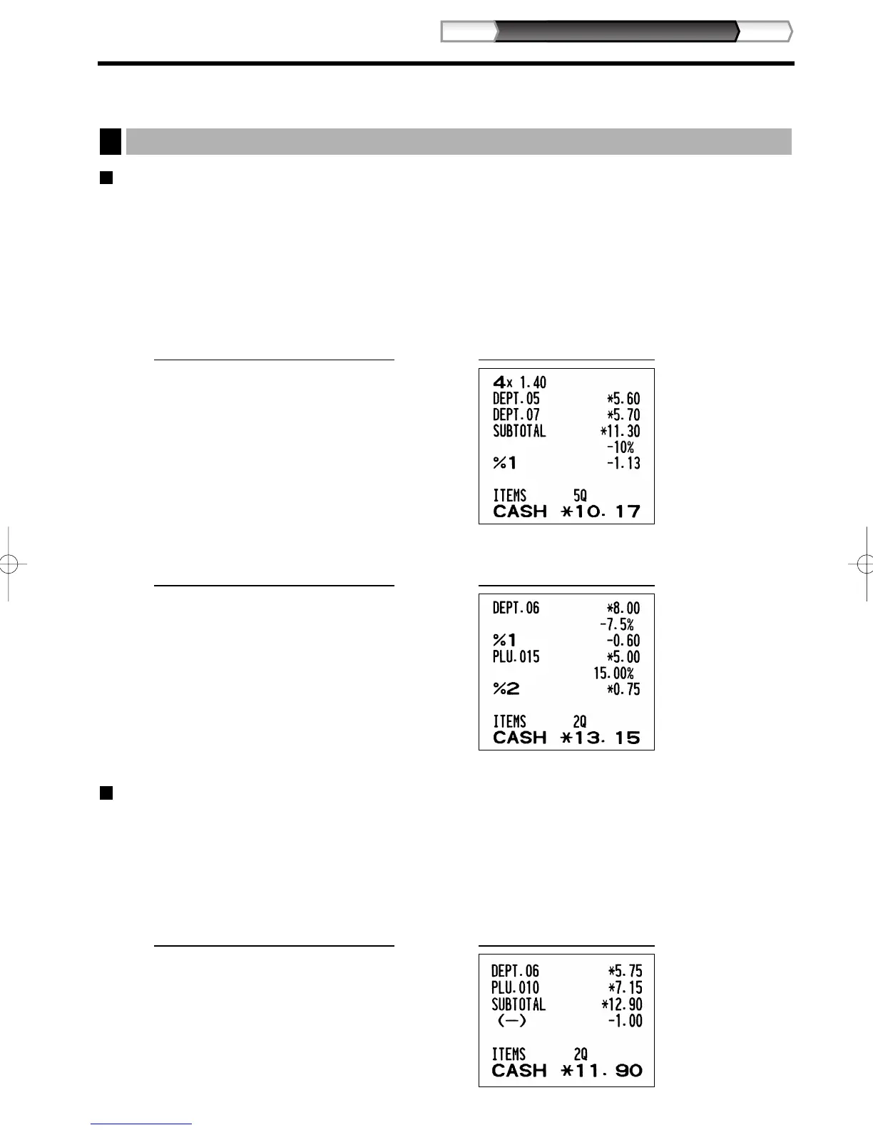
Calcul dun pourcentage pour un total partiel
Calcul dun pourcentage pour des entrées darticles
Entrées de déductions
Votre enregistreuse vous permet de déduire un montant préréglé ou un montant déterminé introduit
manuellement et qui est inférieur à celui de la limitation supérieure programmée. Ces calculs peuvent être
exécutés après lentrée dun article et/ou le calcul dun total partiel selon la programmation effectuée. Veuillez
vous référer à Montant pour
-
et Paramètres de fonction pour
%
,
&
et
-
.
Déduction pour un total partiel
575
+
10
p
s
100
-
A
Impression du reçu
Exemple de manipulation des touches
800
+
7
P
5
%
15
p
&
A
(Lorsquune prime et 15% sont
programmés pour la touche
&
.)
Impression du reçu
Exemple de manipulation des touches
4
@
140
>
570
*
s
10
%
A
Impression du reçu
Exemple de manipulation des touches
Entrées auxiliaires
1
A113_2(Fr) 06.9.11 6:57 PM Page 39

Table of Contents

Other manuals for Sharp XE-A113

Related product manuals