EasyManua.ls Logo

Sharp XE-A113 - Displaying Subtotals; Finalization of Transaction; Cash or Cheque Tendering; Cash or Cheque Sale that Does Not Require Tender Entry

Sharp XE-A113
404 pages
Print Icon
To Next Page IconTo Next Page
To Next Page IconTo Next Page
To Previous Page IconTo Previous Page
To Previous Page IconTo Previous Page
Loading...
36
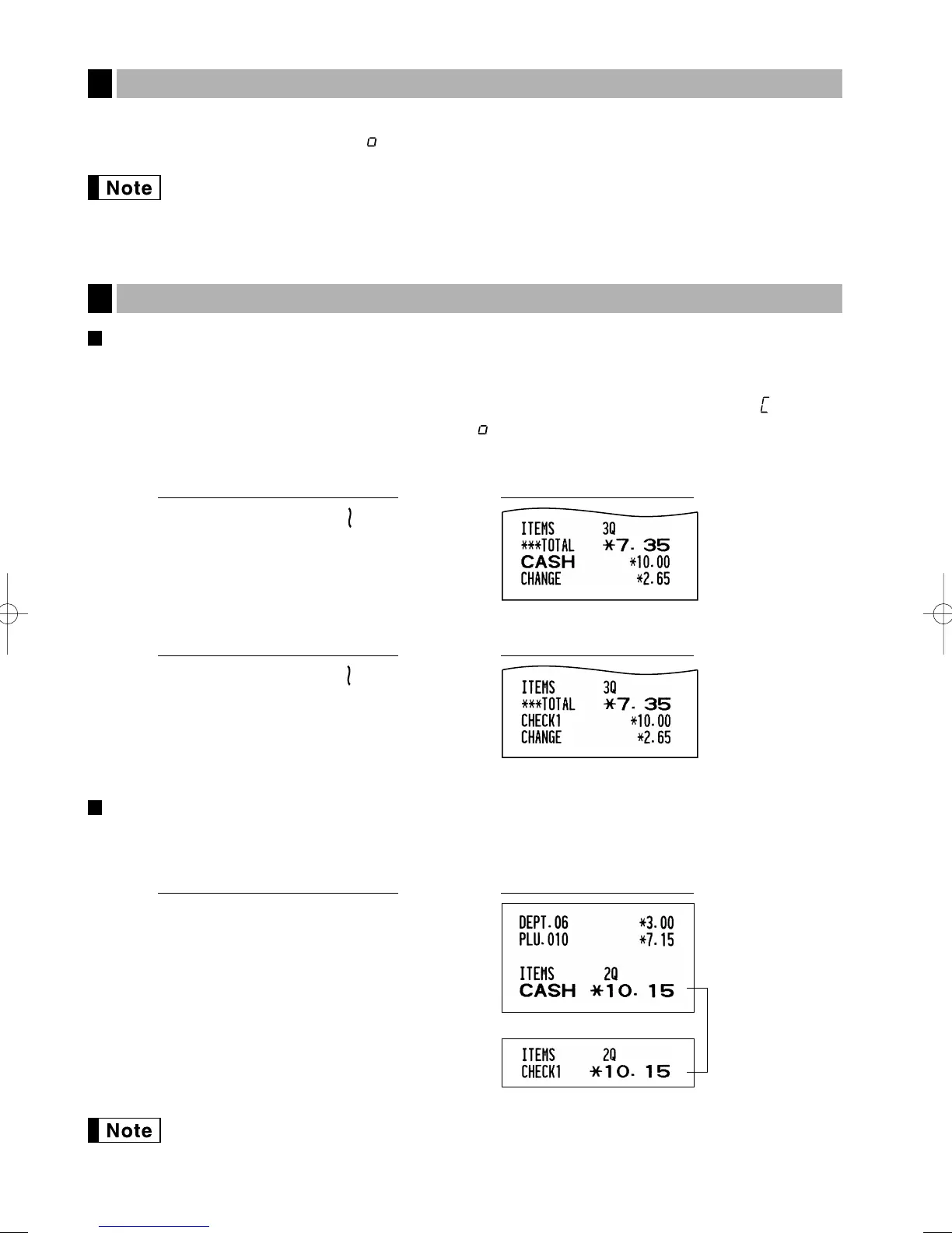
The subtotal is displayed by pressing the
s
key. When you press it, the subtotal of all entries which have
been made is displayed with the symbol “ ”.
Subtotal will not be printed on a receipt on the current factory setting. If you want to print it, change
the setting by programming. Refer to “Receipt print format” (Job code 7) on page 54.
Cash or cheque tendering
Press the
s
key to get a subtotal, enter the amount tendered by your customer, then press the
A
key
if it is a cash tender or press a cheque key (
X
or
Y
)
if it is a cheque tender. When the amount tendered is
greater than the amount of the sale, the register will show the change due amount with the symbol “ .
Otherwise the register will show a deficit with the symbol “ ”. You now must make a correct tender entry.
Cash tendering
Cheque tendering
Cash or cheque sale that does not require tender entry
Enter items and press the
A
key if it is a cash sale or press a cheque key if it is a cheque sale. The
register will display the total sale amount.
When programmed not to allow “direct non-tender finalization after tendering” (Job code 63, refer to
page 56), you must always enter a tender amount.
In the case of cheque 1 sale
300
+
10
p
A
Receipt printKey operation example
s
1000 X
Receipt printKey operation example
s
1000 A
Receipt printKey operation example
Finalization of Transaction
5
Displaying Subtotals
4
A113_2 FOR THE OPERATOR 06.9.11 6:37 PM Page 36

Table of Contents

Other manuals for Sharp XE-A113

Related product manuals