EasyManua.ls Logo

Sharp XE-A113 - Printformaat Voor Afdrukken Van Logo; Dichtheid Thermische Printer; Specificatie Voor Training Bediende

Sharp XE-A113
404 pages
Print Icon
To Next Page IconTo Next Page
To Next Page IconTo Next Page
To Previous Page IconTo Previous Page
To Previous Page IconTo Previous Page
Loading...
61
Deel3
VOOR DE MANAGER
Deel2Deel1
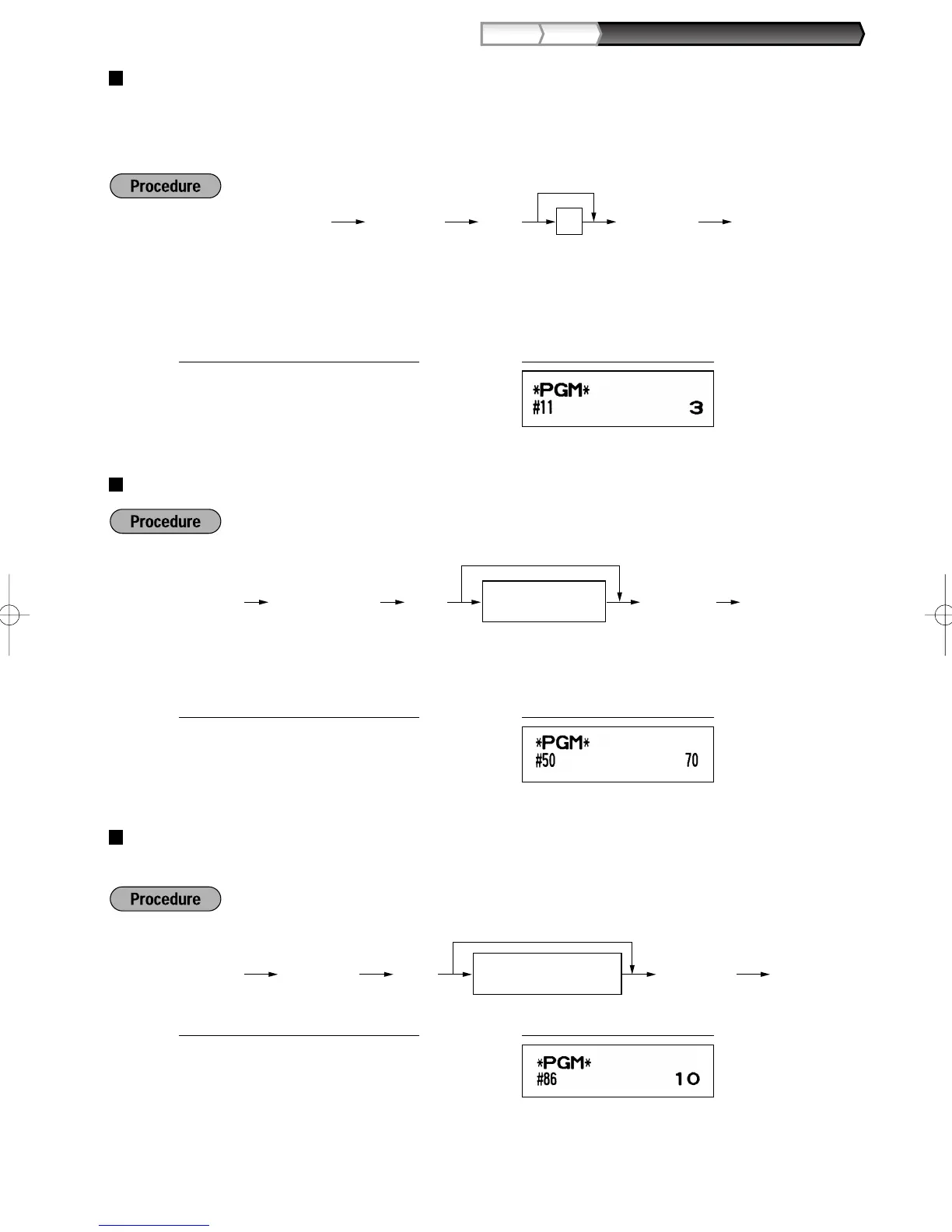
Printformaat voor afdrukken van logo
U kunt het aantal regels voor uw logo-mededeling kiezen en tevens de plaats waar u het op de bon wilt
afdrukken.
Zie Logo-mededelingen op bladzijde 22 voor details aangaande de diverse logo-typen.
*A: Logo-types
0: Kop met 3-regels zonder grafisch logo
3: Kop met 6-regels
5: Kop met 3-regels en voetnoot met 3-regels (fabrieksinstelling)
Dichtheid thermische printer
* 50 (100%) is de fabrieksinstelling. Voor een donkerdere afdruk moet u een hoger nummer instellen. Stel een
lager nummer in voor een lichte afdruk.
Specificatie voor training bediende
Zie TRAININGSFUNCTIE op bladzijde 67 voor details aangaande instellingen voor training.
s
86
@
10
sA
AfdrukToetsbediening voorbeeld
Winkelbediende-code
(1 t/m 10)
Annuleren
s
s86@
A
s
50
@
70
sA
AfdrukToetsbediening voorbeeld
*Printer-dichtheid
(00-99)
Instellen van 0
As
s50@
s
11
@
3
sA
AfdrukToetsbediening voorbeeld
*A
s
Instellen van 0
s@
A
11
A113_3(Ne) 06.9.12 10:16 AM Page 61

Table of Contents

Other manuals for Sharp XE-A113

Related product manuals