EasyManua.ls Logo

Sharp XE-A113 - Programmeren Van Extra Functies; Programmeren Van Diverse Toetsen; Waarde Voor %, & en V; Bedrag Voor

Sharp XE-A113
404 pages
Print Icon
To Next Page IconTo Next Page
To Next Page IconTo Next Page
To Previous Page IconTo Previous Page
To Previous Page IconTo Previous Page
Loading...
45
Deel3
VOOR DE MANAGER
Deel2Deel1
PROGRAMMEREN VAN EXTRA FUNCTIES
De kassa heeft toetsen voor diverse functies, bijvoorbeeld
%
,
&
,
-
,
r
,
R
,
V
,
X
,
Y
,
c
,
b
en
A
.
Waarde voor
%
,
&
en
V
*: Waarde
0.00 100.00 (% waarde)
0.000000 999.999999 (Koers)
U moet een decimale punt gebruiken bij het instellen van waarden met breuken.
Bedrag voor
-
Kortingsbedrag
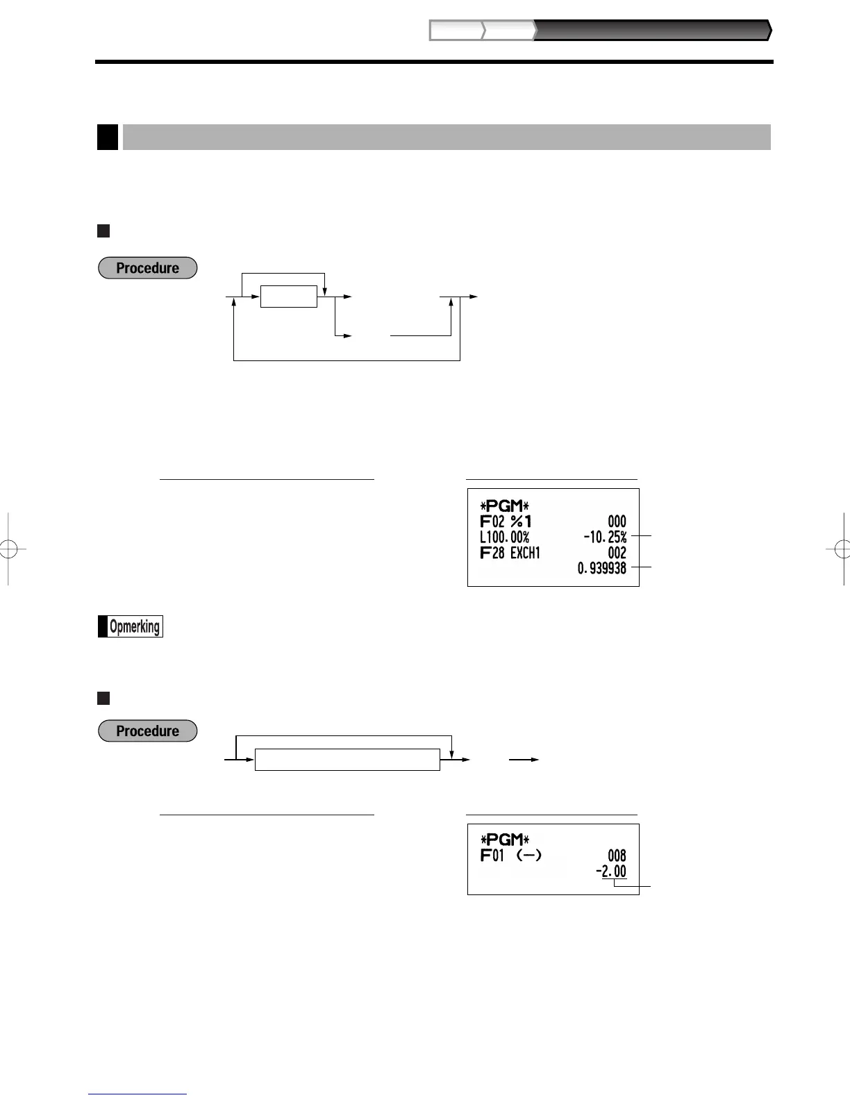
200
-
A
AfdrukToetsbediening voorbeeld
Kortingsbedrag (max. zes cijfers)
A-
Programmeren van nul
Percentage-
waarde
Koers
10
P
25
%
0
P
939938
V
A
AfdrukToetsbediening voorbeeld
*Waarde of
%
V
A&
Programmeren van een andere waarde
Programmeren van nul
Programmeren van diverse toetsen
1
A113_3(Ne) 06.9.12 10:16 AM Page 45

Table of Contents

Other manuals for Sharp XE-A113

Related product manuals