EasyManua.ls Logo

Sharp XE-A113 - Otras Programaciones de Texto; Símbolo de Divisas; Símbolo de Moneda Nacional

Sharp XE-A113
404 pages
Print Icon
To Next Page IconTo Next Page
To Next Page IconTo Next Page
To Previous Page IconTo Previous Page
To Previous Page IconTo Previous Page
Loading...
49
Parte3
PARA EL ADMINISTRADOR
Parte2Parte1
Consulte el apartado Guía para la programación de texto de la página 14 para la forma de introducir
caracteres.
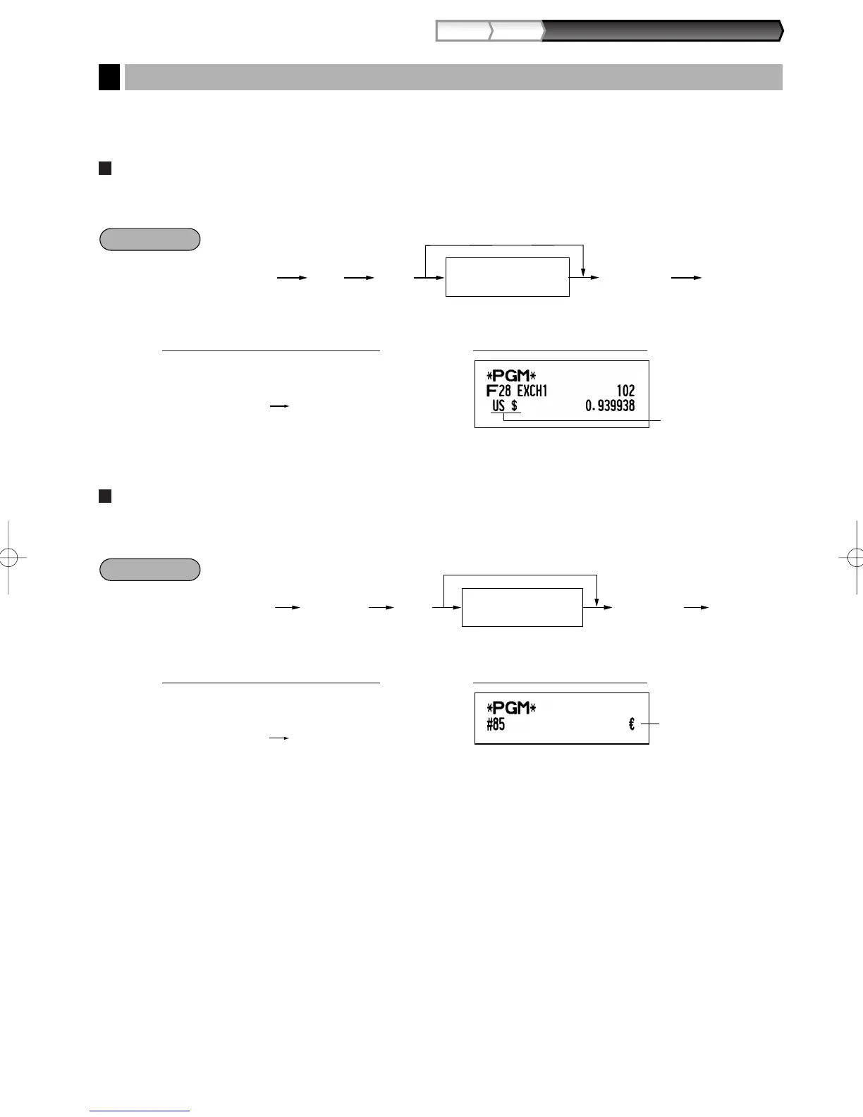
Símbolo de divisas (4 dígitos)
El símbolo de divisas para la tecla
V
se imprime con un importe de cambio de divisas que se haya obtenido
empleando una tasa preajustada.
Símbolo de moneda nacional (4 dígitos)
Se ha ajustado “” como ajuste predeterminado. Cuando desee cambiar el símbolo de la moneda nacional,
cambie el ajuste.
Símbolo de
moneda nacional
Entrada empleando
el código de carácter
s 85 P
S S S
207 :
s
A
ImpresiónEjemplo de operación de teclas
Teclas de caracteres
(máx. 4 dígitos)
As
Para mantener el ajuste vigente
s85P
Procedimiento
Símbolo de
divisas
s 6 P
US S
036 :
s
A
Entrada empleando
el código de carácter
ImpresiónEjemplo de operación de teclas
Teclas de caracteres
(máx. 4 dígitos)
As
Para mantener el ajuste vigente
sP
6
Procedimiento
Otras programaciones de texto
2
A113_3(Sp) 06.9.11 7:12 PM Page 49

Table of Contents

Other manuals for Sharp XE-A113

Related product manuals