EasyManua.ls Logo

Sharp XE-A113 - Reading Stored Programs

Sharp XE-A113
404 pages
Print Icon
To Next Page IconTo Next Page
To Next Page IconTo Next Page
To Previous Page IconTo Previous Page
To Previous Page IconTo Previous Page
Loading...
64
Date setting for EURO modification operation
• In case you changed the date format using job code 61, follow the format you selected for setting
the date.
• If all zeros are set, this programming is disabled.
• If you have already made the Job #800 operation with the substitution of 3 for “A” in the X2/Z2
mode, this programming is disabled.
Time setting for EURO modification operation
• If you have already made the Job #800 operation with the substitution of 3 for “A” in the X2/Z2
mode, this programming is disabled.
The machine allows you to read every program stored in the PGM mode.
Key sequence for reading stored program
To stop reading programming report, turn the mode switch to the MGR position.
Report name Key sequence
Programming report 1
A
Programming report 2 2 A
Auto key programming report 1 A
Printer density programming report 3 A
PLU programming report Start PLU code @ End PLU code p
Department programming report 4 A
Reading Stored Programs
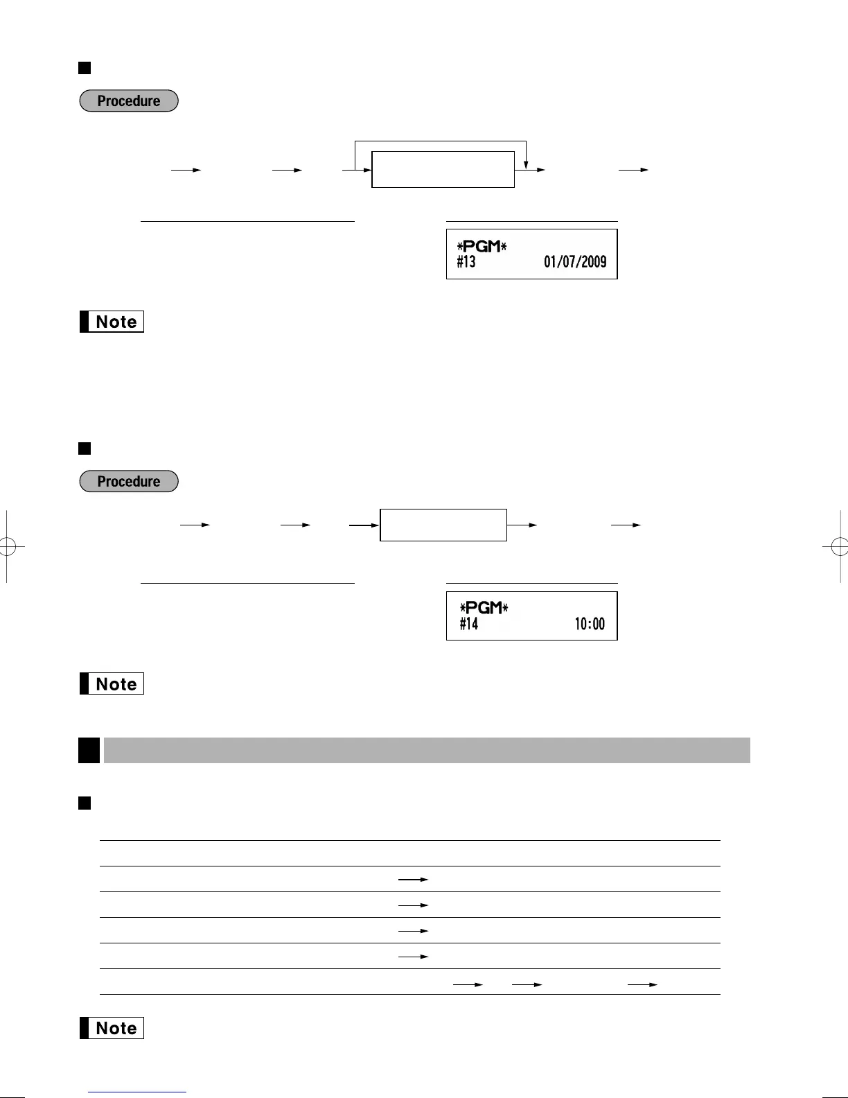
5
s
14
@
10
s
A
PrintKey operation example
s A
Time (Hour) (00-23)
@
s14
s
13
@
01072009
s
A
PrintKey operation example
s A
Date (Day-Month-Year)
(seven or eight digits)
To set all zeros
@
s13
A113_3 FOR THE MANAGER 06.9.11 6:39 PM Page 64

Table of Contents

Other manuals for Sharp XE-A113

Related product manuals